Мы используем cookie для наилучшего представления нашего сайта. Подробнее об этом в Политике конфиденциальности.
Ок

Одинцово

Ваш город:
Одинцово (Московская область)?
Нет
Да
Каталог
Каталог Написать в WhatsApp
Мотоэкипировка

Система охлаждения ДВС КВАДРОЦИКЛА STELS ATV 500 PANDA GT1

Система охлаждения ДВС КВАДРОЦИКЛА STELS ATV 500 PANDA GT1 в Москве: актуальный каталог, цены, фото, описание. Купите система охлаждения двс квадроцикла stels atv 500 panda gt1 в кредит – оформите заявку онлайн за 1 минуту!

Оригинальные запчасти

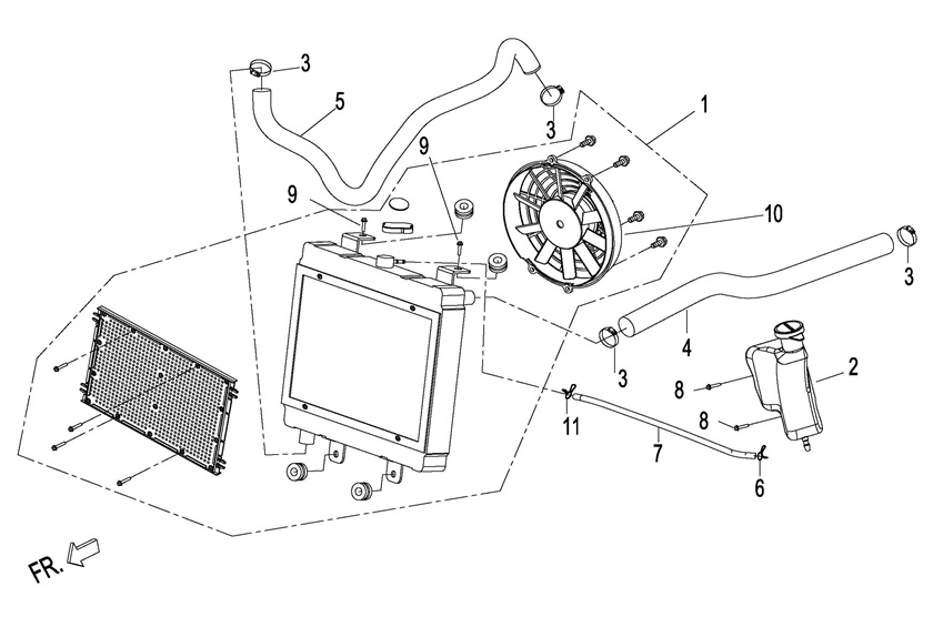
Артикул НАИМЕНОВАНИЕ Кол-во деталей в узле Примечание Наличие Цена Аналоги Фото
1 LU028433 Радиатор жидкостного охлаждения, в сборе 17901-5010

Под заказ

1

Под заказ

уточнить

15 710

Купить
2 LU028434 Бачок расширительный системы охлаждения 17902-5010

Под заказ

1

Под заказ

уточнить

900

Купить
3 LU028435 Шланг системы охлаждения 20x28x500мм, резина 17812-5010

Под заказ

1

Под заказ

уточнить

Купить
4 LU028436 Шланг системы охлаждения 20x28x760мм, резина 17813-5010

Под заказ

1

Под заказ

уточнить

570

Купить
5 LU016423 Хомут пружинный 8 мм, сталь 50307BM0T000,50306B20T000,91503-055-0000,50306J00P000

Под заказ

1

Под заказ

уточнить

60

Купить
6 LU028437 Шланг расширительного бачка системы охлаждения, резина 17811-5010

Под заказ

1

Под заказ

уточнить

60

Купить
7 LU013751 Болт с фланцем M6x1.0x 16мм , сталь 9102-06-016

В наличии

2

В наличии

130

40

Купить
8 LU013753 Болт с фланцем M6x1.0x 25мм (черн.), сталь 9102-06-025

Под заказ

2

Под заказ

уточнить

70

Купить
9 LU030731 Вентилятор радиатора 17110-5010

Под заказ

1

Под заказ

уточнить

9 740

Купить
10 LU030692 Хомут пружинный 10мм, сталь 9852-100003,A1-70/90/110-03-13

Под заказ

1

Под заказ

уточнить

20

Купить

Нулевая цена не означает отсутствие товара. Оформите заказ, и менеджер сообщит вам цену и наличие товара, предварительно запросив их у поставщика

Главная Магазины
Корзина0
Профиль