Мы используем cookie для наилучшего представления нашего сайта. Подробнее об этом в Политике конфиденциальности.
Ок

Одинцово

Ваш город:
Одинцово (Московская область)?
Нет
Да
Каталог
Каталог Написать в WhatsApp
Мотоэкипировка

Ручной стартер КВАДРОЦИКЛА STELS ATV 700 D 2010

Ручной стартер КВАДРОЦИКЛА STELS ATV 700 D 2010 в Москве: актуальный каталог, цены, фото, описание. Купите ручной стартер квадроцикла stels atv 700 d 2010 в кредит – оформите заявку онлайн за 1 минуту!

Оригинальные запчасти

Артикул НАИМЕНОВАНИЕ Кол-во деталей в узле Примечание Наличие Цена Аналоги Фото
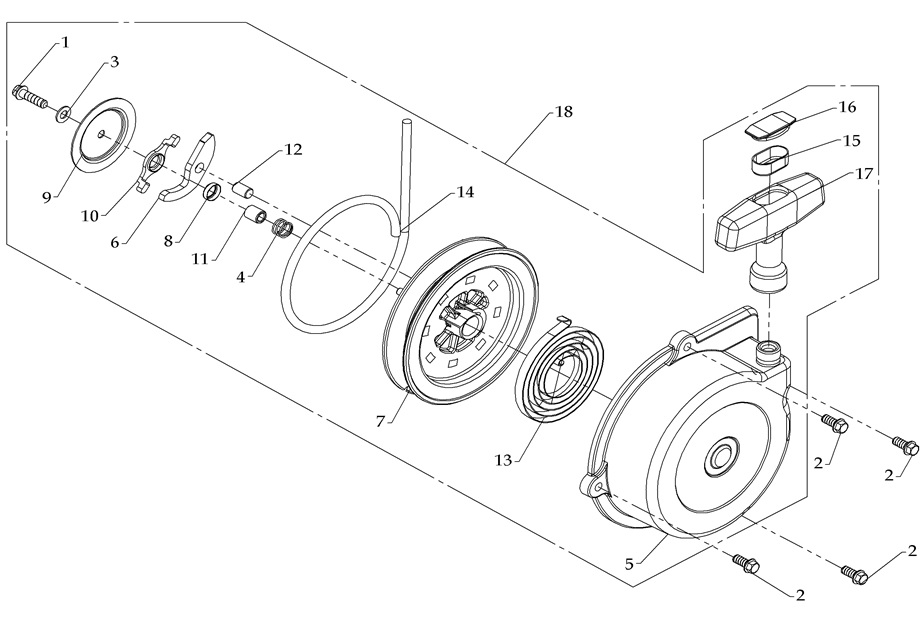
1 LU020993 Шайба 6.5х13х1.0мм, сталь A080036-41

Под заказ

1
Ø6.5XØ13X1.0
Ø6.5XØ13X1.0

Под заказ

уточнить

Купить
2 LU043338 Пружина храповика ручного стартера (сжатие) A110067-00

Под заказ

1
Ø12.3X11L
Ø12.3X11L

Под заказ

уточнить

Купить
3 LU043339 Крышка ручного стартера E150200-00

Под заказ

1

Под заказ

уточнить

Купить
4 E150201-00 Храповик механизма ручного запуска двигателя, сталь

Под заказ

1

Под заказ

уточнить

Купить
5 LU043341 Шкив ручного стартера E150205-00

Под заказ

1

Под заказ

уточнить

Купить
6 E150206-42 Пружина храповика (сжат.) мех-ма ручн.запуска двигателя

Под заказ

1

Под заказ

уточнить

Купить
7 E150207-00 Шайба прижимная мех-ма ручн.запуска двиг-ля, сталь

Под заказ

1

Под заказ

уточнить

Купить
8 E150208-00 STARTER STIR

Под заказ

1

Под заказ

уточнить

Купить
9 E150209-41 Втулка шкива ручного стартера, сталь

Под заказ

1

Под заказ

уточнить

Купить
10 E150210-00 Втулка направляющая храповика ручного стартера, сталь

Под заказ

1

Под заказ

уточнить

Купить
11 LU043342 Пружина ручного стартера (сжатие) E150211-00

Под заказ

1
3400L
3400L

Под заказ

1 478

1 830

Купить
12 E150212-00 Трос механизма ручного запуска двигателя

Под заказ

1
1750L
1750L

Под заказ

уточнить

Купить
13 E150213-42 Вставка ручки мех-ма ручного запуска двигателя, сталь

Под заказ

1

Под заказ

уточнить

Купить
14 E150214-00 Крышкака ручки мех-ма ручного запуска двигателя, сталь

Под заказ

1

Под заказ

уточнить

Купить
15 E150215-00 Ручка механизма запуска двигателя, резина

Под заказ

1

Под заказ

уточнить

Купить
16 LU014750 Стартер ручной, в сборе E150108-00

Под заказ

1

Под заказ

12 460

17 310

Купить
17 LU043340 Стартер ручной в сборе E150217-00

Под заказ

1

Под заказ

15 020

21 160

Купить

Нулевая цена не означает отсутствие товара. Оформите заказ, и менеджер сообщит вам цену и наличие товара, предварительно запросив их у поставщика

Главная Магазины
Корзина0
Профиль