Мы используем cookie для наилучшего представления нашего сайта. Подробнее об этом в Политике конфиденциальности.
Ок

Одинцово

Ваш город:
Одинцово (Московская область)?
Нет
Да
Каталог
Каталог Написать в WhatsApp
Мотоэкипировка

Система охлаждения КВАДРОЦИКЛА STELS ATV 700 D 2010

Система охлаждения КВАДРОЦИКЛА STELS ATV 700 D 2010 в Москве: актуальный каталог, цены, фото, описание. Купите система охлаждения квадроцикла stels atv 700 d 2010 в кредит – оформите заявку онлайн за 1 минуту!

Оригинальные запчасти

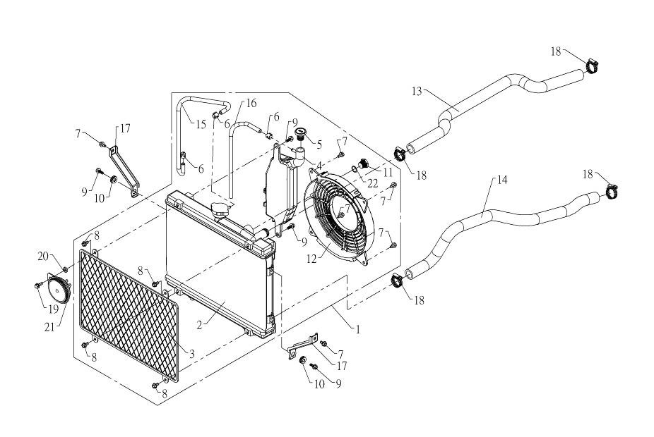
Артикул НАИМЕНОВАНИЕ Кол-во деталей в узле Примечание Наличие Цена Аналоги Фото
1 LU014154 Радиатор жидкостного охлаждения, в сборе F210031-00

Под заказ

1
карбюратор
карбюратор

Под заказ

21 656

29 270

Купить
2 LU048805 Радиатор (EFI), в сборе F210461-89

Под заказ

1
инжектор
инжектор

Под заказ

уточнить

Купить
3 LU051073 Радиатор жидкостного охлаждения, в сборе F210031-02

Под заказ

1
карбюратор
карбюратор

Под заказ

уточнить

Купить
4 LU059924 Радиатор жидкостного охлаждения, в сборе F210031A02

Под заказ

1
карбюратор
карбюратор

Под заказ

18 810

23 230

Купить
5 LU014155 Радиатор жидкостного охлаждения F210051-00,F210051A00

Под заказ

1

Под заказ

21 656

28 500

Купить
6 LU014156 Сетка защитная радиатора, сталь 131001-800-0000

Под заказ

1
позиция убрана из ко...
позиция убрана из комплектации согласно №86-2017 от 27.09.2017

Под заказ

2 130

2 920

Купить
7 LU014157 Бачок расширительный системы охлаждения, пластик (см.новый код - JU081396) 130900-103-0000

Под заказ

1

Под заказ

840

1 300

Купить
8 LU014158 Крышка расширительного бачка , резина F210096-00

Под заказ

1

Под заказ

500

670

Купить
9 LU014159 Хомут пружинный ленточный 9.2х0.6мм, сталь F020197-00

Под заказ

3
9.2×0.6
9.2×0.6

Под заказ

30

Купить
10 LU013750 Болт с фланцем M6x1.0x 12мм, сталь 9102-06-012, PFKL1214292

В наличии

6

В наличии

130

40

Купить
11 LU013981 Болт с фланцем M6x1.0x 12мм (черн.), сталь A050017-43

В наличии

4

В наличии

90

130

Купить
12 LU013751 Болт с фланцем M6x1.0x 16мм , сталь 9102-06-016

В наличии

4

В наличии

130

40

Купить
13 LU014161 Датчик температуры включения вентилятора (93 град) A190125-00

Под заказ

1

Под заказ

3 490

5 120

Купить
14 LU056078 Датчик температуры включения вентилятора (86град) 131300-800-0000

Под заказ

1

Под заказ

5 150

6 870

Купить
15 LU043237 Болт- пробка радиатора с уплотнительным кольцом A050317-00

Под заказ

1
инжектор
инжектор

Под заказ

уточнить

Купить
16 LU014162 Электровентилятор радиатора, в сборе (см.код - LU060548) 130800-800-0000

Под заказ

1

Под заказ

6 840

8 350

Купить
17 LU014164 Шланг системы охлаждения 21х30х650мм, резина A220063-00

Под заказ

1
Ø21ר30×650L
Ø21ר30×650L

Под заказ

880

230

Купить
18 LU014165 Шланг системы охлаждения 21х30х730мм, резина A220064-00

Под заказ

1
Ø21ר30×730L
Ø21ר30×730L

Под заказ

1 500

400

Купить
19 LU014166 Шланг системы охлаждения 6х10.5х600мм, резина A220065-00

Под заказ

1
Ø6ר10.5×600L
Ø6ר10.5×600L

Под заказ

600

640

Купить
20 LU014167 Шланг системы охлаждения 6х10.5х410мм, резина A220066-00

Под заказ

1
Ø6ר10.5×410L
Ø6ר10.5×410L

Под заказ

40

60

Купить
21 LU013806 Болт с фланцем M6x1.0x 18мм DIN 6921 9102-06-018

Под заказ

2

Под заказ

40

50

Купить
22 LU042432 Сигнал звуковой, 12В A190083-00, 000014

Под заказ

1

Под заказ

2 200

2 500

Купить
23 A040066-01 Кольцо уплотнительное 15х2.0мм, резина

Под заказ

1
Ø15xØ2.0  ...
Ø15xØ2.0  инжектор

Под заказ

уточнить

Купить

Нулевая цена не означает отсутствие товара. Оформите заказ, и менеджер сообщит вам цену и наличие товара, предварительно запросив их у поставщика

Главная Магазины
Корзина0
Профиль