Мы используем cookie для наилучшего представления нашего сайта. Подробнее об этом в Политике конфиденциальности.
Ок

Одинцово

Ваш город:
Одинцово (Московская область)?
Нет
Да
Каталог
Каталог Написать в WhatsApp
Мотоэкипировка

Стабилизатор поперечной устойчивости КВАДРОЦИКЛА STELS UTV 500 H

Стабилизатор поперечной устойчивости КВАДРОЦИКЛА STELS UTV 500 H в Москве: актуальный каталог, цены, фото, описание. Купите стабилизатор поперечной устойчивости квадроцикла stels utv 500 h в кредит – оформите заявку онлайн за 1 минуту!

Оригинальные запчасти

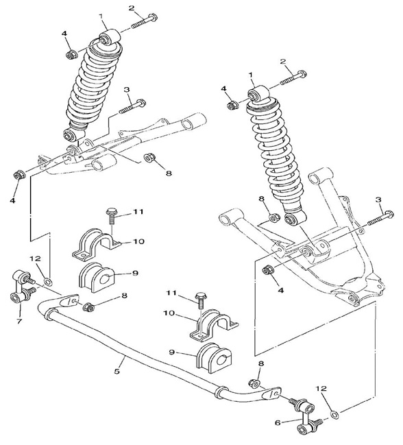
Артикул НАИМЕНОВАНИЕ Кол-во деталей в узле Примечание Наличие Цена Аналоги Фото
1 55100-055-0000 Амортизатор пружинно-гидравлический, задний (белый) 55100-055-0000

Под заказ

2

Под заказ

уточнить

11 400

Купить
2 55100-055-0100 Амортизатор пружинно-гидравлический, задний (черный) 55100-055-0100

Под заказ

2

Под заказ

уточнить

11 260

Купить
3 55100-055-0200 Амортизатор пружинно-гидравлический, задний (серый) 55100-055-0200

Под заказ

2

Под заказ

уточнить

Купить
4 16674-12-70 Болт с фланцем M12х1.25х70мм, сталь 16674-12-70

Под заказ

2

Под заказ

уточнить

30

Купить
5 16674-12-65 Болт с фланцем M12х1.25х65мм, сталь 16674-12-65

Под заказ

2

Под заказ

уточнить

Купить
6 57801-055-0000 Штанга стабилизатора поперечной устойчивости, задняя 57801-055-0000

Под заказ

1
王永健说水平尾翼杆
王永健说水平尾翼杆

Под заказ

уточнить

1 430

Купить
7 57810-058-0000 Рычаг стабилизатора поперечной устойчивости, левый Stels LEOPARD LU021986 57810-058-0000

В наличии

1

В наличии

840

1 760

Купить
8 57820-058-0000 Рычаг стабилизатора поперечной устойчивости, правый Stels LEOPARD LU021985 57820-058-0000

Под заказ

1

Под заказ

уточнить

2 140

Купить
9 LU054718 Рычаг стабилизатора поперечной устойчивости, правый (без гаек) 57820-058-0000_

Под заказ

1

Под заказ

уточнить

1 090

Купить
10 57803-055-0000 Кронштейн подушки штанги стабилизатора, сталь 57803-055-0000

Под заказ

2

Под заказ

уточнить

330

Купить
11 96-8-00 Шайба 8мм, сталь 96-8-00

Под заказ

2

Под заказ

уточнить

Купить

Нулевая цена не означает отсутствие товара. Оформите заказ, и менеджер сообщит вам цену и наличие товара, предварительно запросив их у поставщика

Главная Магазины
Корзина0
Профиль