Мы используем cookie для наилучшего представления нашего сайта. Подробнее об этом в Политике конфиденциальности.
Ок

Одинцово

Ваш город:
Одинцово (Московская область)?
Нет
Да
Каталог
Каталог Написать в WhatsApp
Мотоэкипировка

Механизм переключения передач (часть 1) КВАДРОЦИКЛА STELS UTV 800H

Механизм переключения передач (часть 1) КВАДРОЦИКЛА STELS UTV 800H в Москве: актуальный каталог, цены, фото, описание. Купите механизм переключения передач (часть 1) квадроцикла stels utv 800h в кредит – оформите заявку онлайн за 1 минуту!

Оригинальные запчасти

Артикул НАИМЕНОВАНИЕ Кол-во деталей в узле Примечание Наличие Цена Аналоги Фото
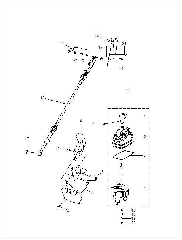
1 LU030099 Ручка переключения передач 23411-178-0000

Под заказ

1

Под заказ

уточнить

Купить
2 LU030100 Чехол пылезащитный рычага переключения передач 23415-178-0000

Под заказ

1

Под заказ

уточнить

Купить
3 LU030101 Хомут пылезащитного чехла рычага переключения передач 23413-178-0000

Под заказ

1

Под заказ

уточнить

Купить
4 LU029112 Механизм переключения передач 23418-178-0000

Под заказ

1

Под заказ

4 210

Купить
5 LU029111 Кронштейн крепления мех-ма переключения передач 23460-178-0000

Под заказ

1

Под заказ

100

140

Купить
6 LU029110 Кронштейн мех-ма переключения передач 23011-178-0000

Под заказ

1

Под заказ

70

100

Купить
7 LU030102 Винт самонарезающий ручки переключения передач, пластик 23412-178-0000

Под заказ

1

Под заказ

уточнить

Купить
8 LU013783 Болт с фланцем М8х1.25х 16мм, сталь 9102-08-016

Под заказ

4

Под заказ

260

40

Купить
9 LU021495 Болт с фланцем М8х1.25х 12мм , сталь 9102-08-012

В наличии

3
Q/QD920-2002
Q/QD920-2002

В наличии

80

100

Купить
10 LU029080 Механизм переключения передач, в сборе 23410-178-0000

Под заказ

1

Под заказ

5 300

6 470

Купить
11 LU029124 Кронштейн мех-ма переключения передач, задний 23021-178-0000

Под заказ

1

Под заказ

40

60

Купить
12 LU013763 Болт с фланцем M6x1.0x 25мм, сталь 9102-06-025, 578906025LBX, PFKL2050768

Под заказ

2

Под заказ

260

210

Купить
13 LU029455 Наконечник с шаровым пальцем тяги рычага перекл.передач 23403-178-0000

Под заказ

1

Под заказ

уточнить

Купить
14 LU029453 Тяга рычага переключения передач 23470-178-0000

Под заказ

1

Под заказ

1 930

2 480

Купить
15 23416-178-0000 Трубка дренажная, ПВХ 23416-178-0000

Под заказ

1

Под заказ

уточнить

Купить
16 23423-178-0000 Пробка трубки дренажной 23423-178-0000

Под заказ

1

Под заказ

уточнить

Купить

Нулевая цена не означает отсутствие товара. Оформите заказ, и менеджер сообщит вам цену и наличие товара, предварительно запросив их у поставщика

Главная Магазины
Корзина0
Профиль