Мы используем cookie для наилучшего представления нашего сайта. Подробнее об этом в Политике конфиденциальности.
Ок

Одинцово

Ваш город:
Одинцово (Московская область)?
Нет
Да
Каталог
Каталог Написать в WhatsApp
Мотоэкипировка

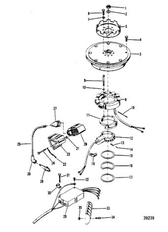
Маховик, катушка зажигания и распределительная коробка (Часть 1) 2-х тактного ПЛМ MERCURY 40 M Серийный номер от 8064750 и выше

Маховик, катушка зажигания и распределительная коробка (Часть 1) 2-х тактного ПЛМ MERCURY 40 M Серийный номер от 8064750 и выше в Москве: актуальный каталог, цены, фото, описание. Купите маховик, катушка зажигания и распределительная коробка (часть 1) 2-х тактного плм mercury 40 m серийный номер от 8064750 и выше в кредит – оформите заявку онлайн за 1 минуту!

Оригинальные запчасти

Артикул НАИМЕНОВАНИЕ Кол-во деталей в узле Примечание Наличие Цена Аналоги Фото
1 22339 Гайка (NUT @5)

Под заказ

1

Под заказ

уточнить

Купить
2 33001 Шайба 1,25 (WASHER, FLYWHEEL NUT)

В наличии

1

В наличии

730

1 070

Купить
3 4764A28 FLYWHEEL ASSEMBLY (MANUAL)

Под заказ

1

Под заказ

уточнить

Купить
4 4764A25 FLYWHEEL ASSEMBLY (ELECTRIC)

Под заказ

1

Под заказ

уточнить

Купить
5 32417 SCREW, FLEXINLE PLATE TO FLYWHEEL

Под заказ

8

Под заказ

уточнить

Купить
6 65213 RATCHET, FLYWHEEL MANUAL

Под заказ

1

Под заказ

уточнить

Купить
7 69088 SCREW, PLATE AND RATCHET (5/16")

Под заказ

8

Под заказ

уточнить

Купить
8 20202 LOCKWASHER, STARTER HOUSING SCREW

Под заказ

2

Под заказ

уточнить

Купить
9 5256 STATOR, IGNITION(MANUAL)

Под заказ

1

Под заказ

уточнить

Купить
10 5255 Емкость пластиковая 0,21л с крышкой

Под заказ

1

Под заказ

уточнить

280

Купить
11 26996 Шайба гровера (LOCKWASHER @15)

Под заказ

4

Под заказ

уточнить

Купить
12 61830 STATOR SUPPORT

Под заказ

1

Под заказ

уточнить

Купить
13 4731A8 TRIGGER PLATE

Под заказ

1

Под заказ

уточнить

Купить
14 62095 SPRING, COMPRESSION

Под заказ

1

Под заказ

уточнить

Купить
15 62768 PIN, SPRING RETENTION

Под заказ

1

Под заказ

уточнить

Купить
16 62133 WASHER, TRIGGER TO STATOR SUPPORT (UPPER)

Под заказ

1

Под заказ

уточнить

Купить
17 61983 WASHER, WAVE - TRIGGER TO STATOR SUPPORT (CENTER)

Под заказ

1

Под заказ

уточнить

Купить
18 61982 WASHER, TRIGGER TO STATOR SUPPORT (LOWER)

Под заказ

1

Под заказ

уточнить

Купить
19 54457 J CLIP

Под заказ

1

Под заказ

уточнить

Купить
20 61990 STA-STRAP, TRIGGER LEADS

Под заказ

1

Под заказ

уточнить

Купить
21 5288T2 COIL

Под заказ

2

Под заказ

уточнить

Купить
22 45076 Гайка (NUT@10)

Под заказ

4

Под заказ

уточнить

Купить
23 60466A1 CABLE ASSEMBLY, GROUND - MOUNTING SCREW

Под заказ

2

Под заказ

уточнить

Купить
24 76254 COVER, IGNITION COIL

Под заказ

2

Под заказ

уточнить

Купить
25 69002 SCREW, COVER TO COIL BRACKET (1-3/4")

Под заказ

2

Под заказ

уточнить

Купить
26 813715A1 LEAD WIRE

Под заказ

2

Под заказ

уточнить

Купить
27 63709A1 Надсвечник (BOOT ASSEMBLY, SPARK PLUG)

Под заказ

2

Под заказ

уточнить

Купить
28 2854T01 BOOT @3

Под заказ

2

Под заказ

уточнить

Купить
29 14103550 Свеча зажигания (NGK BUZHW@10)

Под заказ

2

Под заказ

уточнить

Купить
30 97180Q Свеча зажигания (NGK BUHW @10)

Под заказ

2

Под заказ

уточнить

Купить
31 4911A8 SWITCH BOX ASSY

Под заказ

1

Под заказ

уточнить

Купить
32 69067 SCREW, FUEL PUMP TO UPPER TRANSFER COVER

Под заказ

2

Под заказ

уточнить

Купить
33 45218 SCREW, GROUND LEAD TO CYLINDER BLOCK

Под заказ

6

Под заказ

уточнить

Купить
34 66754 TERMINAL BLOCK, SWITCH BOX LEAD

Под заказ

1

Под заказ

уточнить

Купить
35 38055 SCREW, (.190-32 x .620), CABLE TO IGNITION PLATE

Под заказ

2

Под заказ

уточнить

Купить
36 8267086 NUT, (#10-32)

Под заказ

2

Под заказ

уточнить

Купить

Нулевая цена не означает отсутствие товара. Оформите заказ, и менеджер сообщит вам цену и наличие товара, предварительно запросив их у поставщика

Главная Магазины
Корзина0
Профиль