Мы используем cookie для наилучшего представления нашего сайта. Подробнее об этом в Политике конфиденциальности.
Ок

Одинцово

Ваш город:
Одинцово (Московская область)?
Нет
Да
Каталог
Каталог Написать в WhatsApp
Мотоэкипировка

Корпус шестерни (приводной вал)(3 JAW REVERSE CLUTCH) 2-Х ТАКТНОГО ПЛМ MERCURY 90 Серийный номер от 0D283222 до 0G760299

Корпус шестерни (приводной вал)(3 JAW REVERSE CLUTCH) 2-Х ТАКТНОГО ПЛМ MERCURY 90 Серийный номер от 0D283222 до 0G760299 в Москве: актуальный каталог, цены, фото, описание. Купите корпус шестерни (приводной вал)(3 jaw reverse clutch) 2-х тактного плм mercury 90 серийный номер от 0d283222 до 0g760299 в кредит – оформите заявку онлайн за 1 минуту!

Оригинальные запчасти

Артикул НАИМЕНОВАНИЕ Кол-во деталей в узле Примечание Наличие Цена Аналоги Фото
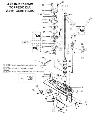
1 9011T73 GEAR HSG-BASIC-BL

Под заказ

1

Под заказ

уточнить

Купить
2 9011T74 ORD 1667-9011T73

Под заказ

1

Под заказ

уточнить

Купить
3 9011T80 ORD 1667-9011T73

Под заказ

1

Под заказ

уточнить

Купить
4 8M0084244 Штифт (PIN - DOWEL)

Под заказ

1

Под заказ

уточнить

Купить
5 79953Q04 Болт дренажный 0.375-16х0.25 (SCREW KIT @2)

Под заказ

2

Под заказ

уточнить

Купить
6 8M0058389 Болт (SCREW KIT @2)

Под заказ

1

Под заказ

уточнить

Купить
7 191833 Прокладка дренажного болта редуктора F80

Под заказ

3

Под заказ

уточнить

Купить
8 43044 Штифт (PIN, Dowel - Without Hole (.375 x .625))

Под заказ

1

Под заказ

уточнить

Купить
9 31640Q4 Триммер-анод (ANODE/TRIM TAB)

Под заказ

1

Под заказ

уточнить

Купить
10 31640T07 Тример цинковый (TRIM TAB)

Под заказ

1

Под заказ

уточнить

Купить
11 825427 Болт (SCREW)

Под заказ

1

Под заказ

уточнить

Купить
12 45176 Шайба (WASHER, GEAR HOUSING STUDS)

Под заказ

1

Под заказ

уточнить

Купить
13 43040T1 Подшипник игольчатый (CARRIER ASSY)

Под заказ

1

Под заказ

уточнить

Купить
14 43046 трубка (TUBE, Oiler)

Под заказ

1

Под заказ

уточнить

Купить
15 826134Q Цинковая защитная пластина (ANODE @3)

Под заказ

2

Под заказ

уточнить

Купить
16 4000333 Болт (SCREW)

Под заказ

1

Под заказ

уточнить

Купить
17 401386 Гайка (NUT-M6 HEX, NYL I)

Под заказ

1

Под заказ

уточнить

Купить
18 44484T Шестерня ведущая (GEAR-PINION)

Под заказ

1

Под заказ

уточнить

Купить
19 35921 Гайка

Под заказ

1

Под заказ

уточнить

Купить
20 760394 Кулачок (CAM-SHIFT@2)

Под заказ

1

Под заказ

уточнить

Купить
21 42677A1 Шарикоподшипник (BEARING KIT)

Под заказ

1

Под заказ

уточнить

Купить
22 44492A1 Регулировочные кольца (shim set)

Под заказ

1

Под заказ

уточнить

Купить
23 43031A1 Приводной вал (D'SHAFT ASSY-L)

Под заказ

1

Под заказ

уточнить

Купить
24 43032A6 DRIVE SHAFT ASSEMBLY

Под заказ

1

Под заказ

уточнить

Купить
25 43032A4 DRIVE SHAFT ASSEMBLY (X-LONG)

Под заказ

1

Под заказ

уточнить

Купить
26 42461A1 Пластиковое кольцо (SLEEVE/RING KIT)

Под заказ

1

Под заказ

уточнить

Купить
27 43055A4 WATER PUMP BASE ASSEMBLY, Aluminum Cover

Под заказ

1

Под заказ

уточнить

Купить
28 430472 Прокладка (GASKET)

Под заказ

1

Под заказ

уточнить

Купить
29 43036 Сальник (SEAL)

Под заказ

1

Под заказ

уточнить

Купить
30 43035 Сальник (SEAL)

Под заказ

1

Под заказ

уточнить

Купить
31 430331 Прокладка (GASKET)

Под заказ

1

Под заказ

уточнить

Купить
32 8172771 Прокладка (GASKET-WATER PUMP)

Под заказ

1

Под заказ

уточнить

Купить
33 817275A2 Ремкомплект помпы (HOUSING-W/P UPPER)

Под заказ

1

Под заказ

уточнить

Купить
34 8172761 Зеркало помпы - шайба плоская стальная

Под заказ

1

Под заказ

уточнить

Купить
35 8248327 SCREW

Под заказ

4

Под заказ

уточнить

Купить
36 430232 Сальник (SEAL)

Под заказ

1

Под заказ

уточнить

Купить
37 8M0032833 Шпонка (KEY)

Под заказ

1

Под заказ

уточнить

Купить
38 43026Q02 Крыльчатка помпы Mercruiser alpha one gen ii MERCURY IMPELLER

Под заказ

1

Под заказ

уточнить

3 050

Купить
39 8248326 Болт (SCREW)

Под заказ

6

Под заказ

уточнить

Купить
40 43048A1 SHIFT SHAFT ASSEMBLY (LONG)

Под заказ

1

Под заказ

уточнить

Купить
41 430482 SHIFT SHAFT ASSEMBLY

Под заказ

1

Под заказ

уточнить

Купить
42 43049A1 SHIFT SHAFT ASSEMBLY (X-LONG)

Под заказ

1

Под заказ

уточнить

Купить
43 29641 Шплинт (E RING @2)

Под заказ

1

Под заказ

уточнить

Купить
44 43052A4 Втулка (BUSHING ASSEMBLY)

Под заказ

1

Под заказ

уточнить

Купить
45 457101 Уплотнительное кольцо (O RING @5)

Под заказ

1

Под заказ

уточнить

Купить
46 8164641 Сальник (SEAL)

Под заказ

1

Под заказ

уточнить

Купить
47 43035A4 Набор сальников (SEAL KIT)

Под заказ

1

Под заказ

уточнить

Купить
48 43024A7 Ремонтный комплект (REPAIR KIT, Water Pump)

Под заказ

1

Под заказ

уточнить

Купить
49 43004A99 Набор прокладок 75/90 дв. блок (GASKET SET)

Под заказ

1

Под заказ

уточнить

Купить

Нулевая цена не означает отсутствие товара. Оформите заказ, и менеджер сообщит вам цену и наличие товара, предварительно запросив их у поставщика

Главная Магазины
Корзина0
Профиль