Мы используем cookie для наилучшего представления нашего сайта. Подробнее об этом в Политике конфиденциальности.
Ок

Одинцово

Ваш город:
Одинцово (Московская область)?
Нет
Да
Каталог
Каталог Написать в WhatsApp
Мотоэкипировка

Электрические компоненты, реле 4-Х ТАКТНОГО ПЛМ MERCURY 100 Серийный номер от 1B227000 до 1B366822

Электрические компоненты, реле 4-Х ТАКТНОГО ПЛМ MERCURY 100 Серийный номер от 1B227000 до 1B366822 в Москве: актуальный каталог, цены, фото, описание. Купите электрические компоненты, реле 4-х тактного плм mercury 100 серийный номер от 1b227000 до 1b366822 в кредит – оформите заявку онлайн за 1 минуту!

Оригинальные запчасти

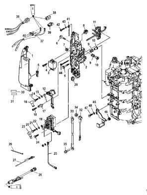
Артикул НАИМЕНОВАНИЕ Кол-во деталей в узле Примечание Наличие Цена Аналоги Фото
1 881363A02 COVER/BRACKET KIT

Под заказ

1

Под заказ

уточнить

Купить
2 881359002 BRACKET

Под заказ

1

Под заказ

уточнить

Купить
3 881350T01 RELAY ASSEMBLY

Под заказ

1

Под заказ

уточнить

Купить
4 881351 SCREW

Под заказ

1

Под заказ

уточнить

Купить
5 804289 PULLER, Fuse

Под заказ

1

Под заказ

уточнить

Купить
6 804270 BOLT, (M6 x 28)

Под заказ

5

Под заказ

уточнить

Купить
7 881304 GROMMET

Под заказ

1

Под заказ

уточнить

Купить
8 881361 CLAMP

Под заказ

1

Под заказ

уточнить

Купить
9 804344003 COLLAR

Под заказ

5

Под заказ

уточнить

Купить
10 881360 CLAMP

Под заказ

1

Под заказ

уточнить

Купить
11 881352T RELAY

Под заказ

1

Под заказ

уточнить

Купить
12 804284001 BOOT

Под заказ

2

Под заказ

уточнить

Купить
13 881353 CLAMP

Под заказ

1

Под заказ

уточнить

Купить
14 8813511 SCREW

Под заказ

1

Под заказ

уточнить

Купить
15 881356001 RELAY ASSEMBLY

Под заказ

1

Под заказ

уточнить

Купить
16 84088M BOLT

Под заказ

2

Под заказ

уточнить

Купить
17 82212M WASHER, SPRING

Под заказ

2

Под заказ

уточнить

Купить
18 82214M Шайба (WASHER)

Под заказ

2

Под заказ

уточнить

Купить
19 8257021 Болт (BOLT, (M6 x 20))

Под заказ

2

Под заказ

уточнить

Купить
20 881357001 WIRE, Lead

Под заказ

1

Под заказ

уточнить

Купить
21 858740T4 Переходник 10-8 штырьков 75-115 YAMAHA (HARNESS)

Под заказ

1

Под заказ

уточнить

Купить
22 858740T06 HARNESS ASSEMBLY, Remote Adaptor (16 Inches)(10 Pin Female to 14 Pin Female)

Под заказ

1

Под заказ

уточнить

Купить
23 8M0026570 MODULE-TACH

Под заказ

1

Под заказ

уточнить

Купить
24 881304001 GROMMET

Под заказ

1

Под заказ

уточнить

Купить
25 8272822 DECAL, Warning, High Voltage

Под заказ

1

Под заказ

уточнить

Купить
26 881865 DECAL, Caution-Start in Gear

Под заказ

1

Под заказ

уточнить

Купить
27 88439A33 BATTERY CABLE, Positive

Под заказ

1

Под заказ

уточнить

Купить
28 88439A10 BATTERY CABLE, (Negative)

Под заказ

1

Под заказ

уточнить

Купить
29 401388 Гайка (NUT, M8)

Под заказ

1

Под заказ

уточнить

Купить
30 858723T1 HARNESS ASSEMBLY, Adaptor/Trim

Под заказ

1

Под заказ

уточнить

Купить
31 858914T1 HARNESS ASSEMBLY, Trim Motor Adaptor

Под заказ

1

Под заказ

уточнить

Купить
32 859249T1 CONNECTOR

Под заказ

1

Под заказ

уточнить

Купить
33 897543A01 CONNECTOR CAP ASSEMBLY, 2 Way

Под заказ

1

Под заказ

уточнить

Купить
34 881530013 CLAMP

Под заказ

1

Под заказ

уточнить

Купить
35 852473 COLLAR

Под заказ

1

Под заказ

уточнить

Купить
36 881530014 CLAMP

Под заказ

2

Под заказ

уточнить

Купить
37 804260001 BRACKET

Под заказ

1

Под заказ

уточнить

Купить
38 97687M GROMMET

Под заказ

1

Под заказ

уточнить

Купить
39 84368M BOLT

Под заказ

1

Под заказ

уточнить

Купить

Нулевая цена не означает отсутствие товара. Оформите заказ, и менеджер сообщит вам цену и наличие товара, предварительно запросив их у поставщика

Главная Магазины
Корзина0
Профиль