Мы используем cookie для наилучшего представления нашего сайта. Подробнее об этом в Политике конфиденциальности.
Ок

Одинцово

Ваш город:
Одинцово (Московская область)?
Нет
Да
Каталог
Каталог Написать в WhatsApp
Мотоэкипировка

ВАЛ КОЛЕНЧАТЫЙ ДЛЯ 2-Х ТАКТНОГО ПЛМ ZONGSHEN T25BM, T30BM, T25FW, T30FW

ВАЛ КОЛЕНЧАТЫЙ ДЛЯ 2-Х ТАКТНОГО ПЛМ ZONGSHEN T25BM, T30BM, T25FW, T30FW в Москве: актуальный каталог, цены, фото, описание. Купите вал коленчатый для 2-х тактного плм zongshen t25bm, t30bm, t25fw, t30fw в кредит – оформите заявку онлайн за 1 минуту!

Оригинальные запчасти

Артикул НАИМЕНОВАНИЕ Кол-во деталей в узле Примечание Наличие Цена Аналоги Фото
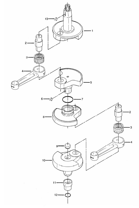
1 03100-C96-0000 Вал коленчатый в сборе

Под заказ

1
Complete driving sha...
Complete driving shaft

Под заказ

уточнить

Купить
2 03111-C96-0000 Фланец верхний

Под заказ

1
Upper flange
Upper flange

Под заказ

уточнить

Купить
3 03118-C96-0000 Шпонка коленвала маховика

Под заказ

1
Flywheel key
Flywheel key

Под заказ

уточнить

Купить
4 90101-10235200178 Кольцо

Под заказ

1
OR ring
OR ring

Под заказ

уточнить

Купить
5 03114-C96-0000 Полуфланец нижний

Под заказ

1
Lower middle semi - ...
Lower middle semi - flange

Под заказ

уточнить

Купить
6 03116-C96-0000 Заглушка

Под заказ

1
Pin
Pin

Под заказ

уточнить

Купить
7 03115-C96-0000 Фланец нижний

Под заказ

1
Lower flange
Lower flange

Под заказ

уточнить

Купить
8 03117-C96-0000 Втулка

Под заказ

1
Terminal
Terminal

Под заказ

уточнить

Купить
9 90101-10140000178 Кольцо 14х1,78

Под заказ

1
OR ring OR 14 x 1.78
OR ring OR 14 x 1.78

Под заказ

уточнить

Купить
10 03118-C96-0000 Шпонка коленвала маховика

Под заказ

1
Flywheel key
Flywheel key

Под заказ

уточнить

Купить

Нулевая цена не означает отсутствие товара. Оформите заказ, и менеджер сообщит вам цену и наличие товара, предварительно запросив их у поставщика

Главная Магазины
Корзина0
Профиль