Мы используем cookie для наилучшего представления нашего сайта. Подробнее об этом в Политике конфиденциальности.
Ок

Одинцово

Ваш город:
Одинцово (Московская область)?
Нет
Да
Каталог
Каталог Написать в WhatsApp
Мотоэкипировка

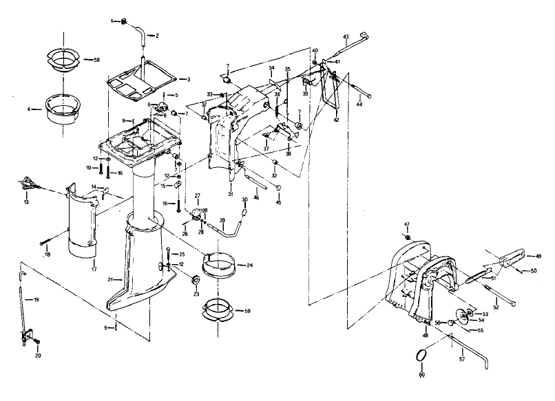
КРОНШТЕЙН ПОВОРОТНЫЙ 2-Х ТАКТНОГО ПЛМ ZONGSHEN T4BM, T5BM, T6BM

КРОНШТЕЙН ПОВОРОТНЫЙ 2-Х ТАКТНОГО ПЛМ ZONGSHEN T4BM, T5BM, T6BM в Москве: актуальный каталог, цены, фото, описание. Купите кронштейн поворотный 2-х тактного плм zongshen t4bm, t5bm, t6bm в кредит – оформите заявку онлайн за 1 минуту!

Оригинальные запчасти

Артикул НАИМЕНОВАНИЕ Кол-во деталей в узле Примечание Наличие Цена Аналоги Фото
1 15409-H58-0000 Уплотнение трубки водной

Под заказ

1

Под заказ

уточнить

Купить
2 15408-H58-0000 Трубка охлаждения S

Под заказ

1

Под заказ

уточнить

Купить
3 15408-H58-0100 Трубка охлаждения L

Под заказ

1

Под заказ

уточнить

Купить
4 09009-D30-0000 Прокладка дейдвуда

Под заказ

1

Под заказ

уточнить

Купить
5 14005-H58-0000 Втулка кронштейна поворотного верхняя

Под заказ

1

Под заказ

уточнить

Купить
6 B0087901030018C00 Штифт эластичный 3х18

Под заказ

1
Elastic pin diam. 3x...
Elastic pin diam. 3x18

Под заказ

уточнить

Купить
7 13024-C96-0000 Рычаг газа

Под заказ

1
Cam control lever
Cam control lever

Под заказ

уточнить

Купить
8 13017-C96-0000 Втулка вала газа двигателя

Под заказ

4
Bush
Bush

Под заказ

уточнить

Купить
9 B0087904020020C00 Штифт Ø2х20

Под заказ

1

Под заказ

уточнить

Купить
10 11002-H58-0000 Фрикцион кронштейна поворотного

Под заказ

1

Под заказ

уточнить

Купить
11 13008-I07-0000 Пластина ручки реверса

Под заказ

1

Под заказ

уточнить

Купить
12 B0578300060025000 Винт м6х25

Под заказ

1
Screw TE M6x25
Screw TE M6x25

Под заказ

уточнить

Купить
13 14007-H58-0000 Крышка кронштейна поворотного

Под заказ

1

Под заказ

уточнить

Купить
14 15301-H58-0000 Тяга реверса S

Под заказ

1

Под заказ

уточнить

Купить
15 15301-H58-0100 Тяга реверса L

Под заказ

1

Под заказ

уточнить

Купить
16 B0578900060020000 Винт М5х12

Под заказ

1

Под заказ

уточнить

Купить
17 14001-I07-0000 Дейдвуд S

Под заказ

1

Под заказ

уточнить

Купить
18 14001-I07-0100 Дейдвуд L

Под заказ

1

Под заказ

уточнить

Купить
19 14002-H58-0000 Заглушка дейдвуда

Под заказ

1

Под заказ

уточнить

Купить
20 14006-H58-0000 Втулка кронштейна поворотного нижняя

Под заказ

1

Под заказ

уточнить

Купить
21 B0578300060055000 Винт М6х55

Под заказ

1

Под заказ

уточнить

Купить
22 B0087901030018C00 Штифт эластичный 3х18

Под заказ

1
Elastic pin diam. 3x...
Elastic pin diam. 3x18

Под заказ

уточнить

Купить
23 13110-I07-0000 Кулачок селектора

Под заказ

1

Под заказ

уточнить

Купить
24 13103-I07-0000 Ручка реверса

Под заказ

1

Под заказ

уточнить

Купить
25 13104-I07-0000 Колпачок ручки реверса

Под заказ

1

Под заказ

уточнить

Купить
26 11003-H58-0000 Кронштейн поворотный

Под заказ

1

Под заказ

уточнить

Купить
27 11004-H58-0000 Кольцо стопорное ZA5

Под заказ

1

Под заказ

уточнить

Купить
28 11010-H58-0000 Тяга замка наклона

Под заказ

1

Под заказ

уточнить

Купить
29 11009-H58-0000 Пружина возвратная замка копота

Под заказ

1

Под заказ

уточнить

Купить
30 11007-H58-0000 Пружина замка наклона

Под заказ

1

Под заказ

уточнить

Купить
31 11008-H58-0000 Замок наклона

Под заказ

1

Под заказ

уточнить

Купить
32 11011-H58-0000 Пружина опоры наклона

Под заказ

1

Под заказ

уточнить

Купить
33 B0088901060000600 Гайка самоконтр м6

Под заказ

1
Selflocking nut M6
Selflocking nut M6

Под заказ

уточнить

Купить
34 11012-H58-0000 Ручка опоры наклона

Под заказ

1

Под заказ

уточнить

Купить
35 11013-H58-0000 Опора подъема

Под заказ

1

Под заказ

уточнить

Купить
36 11014-H58-0000 Ручка замка наклона

Под заказ

1

Под заказ

уточнить

Купить
37 B0578200060065000 Винт М6х65

Под заказ

1

Под заказ

уточнить

Купить
38 11005-H58-0000 Палец замка наклона

Под заказ

1

Под заказ

уточнить

Купить
39 B0088901080000600 Гайка самоконтрящаяся м8

Под заказ

1
Selflocking nut M8 *...
Selflocking nut M8 * Части поставляются только для модели с дистанционным управление и электростартером

Под заказ

уточнить

Купить
40 11015-H58-0000 Кронштейн транца

Под заказ

1

Под заказ

уточнить

Купить
41 B0578300080100000 Винт М8х100

Под заказ

1

Под заказ

уточнить

Купить
42 11016-H58-0000 Палец угла дифферента

Под заказ

1

Под заказ

уточнить

Купить
43 14003-H58-0000 Втулка опорная кронштейна поворотного верхняя

Под заказ

1

Под заказ

уточнить

Купить
44 14004-H58-0000 Втулка опорная кронштейна поворотного нижняя

Под заказ

1

Под заказ

уточнить

Купить
45 11017-H58-0000 Кольцо

Под заказ

1

Под заказ

уточнить

Купить

Нулевая цена не означает отсутствие товара. Оформите заказ, и менеджер сообщит вам цену и наличие товара, предварительно запросив их у поставщика

Главная Магазины
Корзина0
Профиль