Мы используем cookie для наилучшего представления нашего сайта. Подробнее об этом в Политике конфиденциальности.
Ок

Одинцово

Ваш город:
Одинцово (Московская область)?
Нет
Да
Каталог
Каталог Написать в WhatsApp
Мотоэкипировка

КРОНШТЕЙН ДЛЯ 2-Х ТАКТНОГО ПЛМ ZONGSHEN T9.9BM, T15BM

КРОНШТЕЙН ДЛЯ 2-Х ТАКТНОГО ПЛМ ZONGSHEN T9.9BM, T15BM в Москве: актуальный каталог, цены, фото, описание. Купите кронштейн для 2-х тактного плм zongshen t9.9bm, t15bm в кредит – оформите заявку онлайн за 1 минуту!

Оригинальные запчасти

Артикул НАИМЕНОВАНИЕ Кол-во деталей в узле Примечание Наличие Цена Аналоги Фото
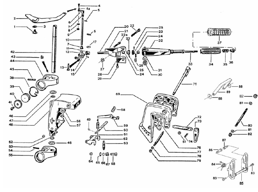
1 13025-D05-0000 Винт

Под заказ

1
SCREW
SCREW

Под заказ

уточнить

Купить
2 13027-D05-0000 Рычаг блокировки полного газа

Под заказ

1
ACCELERATOR CM MANUA...
ACCELERATOR CM MANUAL STARTING

Под заказ

уточнить

Купить
3 13033-D05-0000 Шайба

Под заказ

1
WASHER
WASHER

Под заказ

уточнить

Купить
4 B05783000500160 Винт M5×16

Под заказ

1
SCREW TE M5*16
SCREW TE M5*16

Под заказ

уточнить

Купить
5 13026-C96-0000 Втулка

Под заказ

1
Bush joint
Bush joint

Под заказ

уточнить

Купить
6 B00879000300140 Палец угла дифферента

Под заказ

2
PIN
PIN

Под заказ

уточнить

Купить
7 13024-C96-0000 Рычаг газа

Под заказ

1
Cam control lever
Cam control lever

Под заказ

уточнить

Купить
8 13017-C96-0000 Втулка вала газа двигателя

Под заказ

2
Bush
Bush

Под заказ

уточнить

Купить
9 B0009500050000C Шайба М5

Под заказ

1
WASHER 5
WASHER 5

Под заказ

уточнить

Купить
10 B00889000500000 Гайка М5

Под заказ

1
SELFLOCKING NUT M5
SELFLOCKING NUT M5

Под заказ

уточнить

Купить
11 13023-D05-0000 Вал блокировки газа

Под заказ

1
CONTROL SHAFT
CONTROL SHAFT

Под заказ

уточнить

Купить
12 13007-C96-0000 Шестерня кронштейна румпеля

Под заказ

1
Throttle control gud...
Throttle control gudgeon

Под заказ

уточнить

Купить
13 13022-C96-0000 Шестерня кронштейна румпеля

Под заказ

1
Throttle control gea...
Throttle control gear

Под заказ

уточнить

Купить
14 B00845000481300 Винт

Под заказ

3
SCREW SELF SCREWING ...
SCREW SELF SCREWING 4.8*13

Под заказ

уточнить

Купить
15 B00879000300180 Штифт 3×18

Под заказ

1
ELASTIC PIN
ELASTIC PIN

Под заказ

уточнить

Купить
16 B0009500080000C Шайба М8

Под заказ

1
WASHER M8
WASHER M8

Под заказ

уточнить

Купить
17 13006-C96-0000 Вал газа кронштейна румпеля

Под заказ

1
Handle shaft
Handle shaft

Под заказ

уточнить

Купить
18 13005-C96-0000 Кронштейн румпель

Под заказ

1
Handle support
Handle support

Под заказ

уточнить

Купить
19 B00070000800350 Винт M8×35

Под заказ

1
SCREW M8*35
SCREW M8*35

Под заказ

уточнить

Купить
20 B00070000800700 Винт M8×70

Под заказ

1
SCREW M8*70
SCREW M8*70

Под заказ

уточнить

Купить
21 13017-C96-0000 Втулка вала газа двигателя

Под заказ

2
Bush
Bush

Под заказ

уточнить

Купить
22 B00879000300140 Палец угла дифферента

Под заказ

2
PIN
PIN

Под заказ

уточнить

Купить
23 B0617000080000 Гайка М8

Под заказ

2
NUT M8
NUT M8

Под заказ

уточнить

Купить
24 13004-C96-0000 Крышка Кронштейна румпеля

Под заказ

1
Support cover
Support cover

Под заказ

уточнить

Купить
25 13016-C96-0000 Румпель

Под заказ

1
Handle body
Handle body

Под заказ

уточнить

Купить
26 13015-C96-0000 Вал газа румпеля

Под заказ

1
Handle rod
Handle rod

Под заказ

уточнить

Купить
27 13011A-C96-0000 Ручка газа, резина

Под заказ

1
Handle cover
Handle cover

Под заказ

уточнить

Купить
28 13013-C96-0000 Пружина румпеля

Под заказ

1
Spring
Spring

Под заказ

уточнить

Купить
29 13012-C96-0000 Заглушка румпеля

Под заказ

1
Handle plug
Handle plug

Под заказ

уточнить

Купить
30 13011B-C96-0000 Ручка газа, пластик

Под заказ

1
Handle
Handle

Под заказ

уточнить

Купить
31 11005-D05-0000 Ось кронштейна поворотного

Под заказ

1
STEERING PIPE
STEERING PIPE

Под заказ

уточнить

Купить
32 11004-D05-0000 Кронштейн поворотный

Под заказ

1
SWIVEL BRACKET
SWIVEL BRACKET

Под заказ

уточнить

Купить
33 B00896000600000 Кольцо стопорное

Под заказ

1
SEEGER RS6
SEEGER RS6

Под заказ

уточнить

Купить
34 B0617000060000 Гайка M6

Под заказ

1
NUT
NUT

Под заказ

уточнить

Купить
35 11141-C96-0000 Прессмаслёнка

Под заказ

1
GREASER
GREASER

Под заказ

уточнить

Купить
36 11205-D05-0000 Рычаг замка наклона

Под заказ

1
HOOK LEVER
HOOK LEVER

Под заказ

уточнить

Купить
37 11202-D05-0000 Ось замка наклона

Под заказ

1
HOOK GUDGEON
HOOK GUDGEON

Под заказ

уточнить

Купить
38 11204-D05-0000 Пружина замка наклона

Под заказ

1
HOOK SPRING
HOOK SPRING

Под заказ

уточнить

Купить
39 11201-D05-0000 Замок наклона

Под заказ

1
HOOK
HOOK

Под заказ

уточнить

Купить
40 11203-D05-0000 Пружина замка возвратная

Под заказ

1
HOOK RETURN SPRING
HOOK RETURN SPRING

Под заказ

уточнить

Купить
41 11132-C96-0000 Шайба

Под заказ

1
Washer
Washer

Под заказ

уточнить

Купить
42 90101-10087300178 Кольцо уплотнительное

Под заказ

2
OR ring
OR ring

Под заказ

уточнить

Купить
43 11131-C96-0000 Наконечник

Под заказ

1
Pad
Pad

Под заказ

уточнить

Купить
44 11133-C96-0000 Пружина

Под заказ

1
Spring
Spring

Под заказ

уточнить

Купить
45 11134-C96-0000 Винт

Под заказ

1
Brake screw
Brake screw

Под заказ

уточнить

Купить
46 11161-D05-0000 Палец угла дифферента

Под заказ

1
BRACKET
BRACKET

Под заказ

уточнить

Купить
47 11162-D05-0000 Палец угла дифферента

Под заказ

1
BRACKET
BRACKET

Под заказ

уточнить

Купить
48 B00879000300140 Палец угла дифферента

Под заказ

1
PIN
PIN

Под заказ

уточнить

Купить
49 11151-D05-0000 Шпилька кронштейна

Под заказ

1
BRACKET PIN
BRACKET PIN

Под заказ

уточнить

Купить
50 B0009500060000C Шайба

Под заказ

4
Washer M6
Washer M6

Под заказ

уточнить

Купить
51 B00889000600000 Контргайка М6

Под заказ

2
SELFLOCKING NUT M6
SELFLOCKING NUT M6

Под заказ

уточнить

Купить
52 11101-D05-0000 Болт кронштейна

Под заказ

1
BRACKET SCREW
BRACKET SCREW

Под заказ

уточнить

Купить
53 B00889001000000 Гайка гребного винта

Под заказ

2
SELFLOCKING NUT M10
SELFLOCKING NUT M10

Под заказ

уточнить

Купить
54 13032-C96-0000 Винт

Под заказ

2
Cam sliding screw
Cam sliding screw

Под заказ

уточнить

Купить
55 11123-D05-0000 Пружина

Под заказ

1
SPING
SPING

Под заказ

уточнить

Купить
56 11126-D05-0000 Пластины наклона в сборе

Под заказ

1
SPING
SPING

Под заказ

уточнить

Купить
57 11124-D05-0000 Пластина наклона правая

Под заказ

1
SPING
SPING

Под заказ

уточнить

Купить
58 11125-D05-0000 Пластина наклона левая

Под заказ

1
SPING
SPING

Под заказ

уточнить

Купить
59 B05783000600120 Винт М6х12

Под заказ

2
SCREW T.E. M6*12
SCREW T.E. M6*12

Под заказ

уточнить

Купить
60 B00889000600000 Контргайка М6

Под заказ

2
SELFLOCKING NUT M6
SELFLOCKING NUT M6

Под заказ

уточнить

Купить
61 11121-D05-0000 Винт

Под заказ

1
SCREW
SCREW

Под заказ

уточнить

Купить
62 11122-D05-0000 Винт

Под заказ

1
SCREW
SCREW

Под заказ

уточнить

Купить
63 11105-D05-0000 Ручка для переноски

Под заказ

1
HANDGRIP
HANDGRIP

Под заказ

уточнить

Купить

Нулевая цена не означает отсутствие товара. Оформите заказ, и менеджер сообщит вам цену и наличие товара, предварительно запросив их у поставщика

Главная Магазины
Корзина0
Профиль