Мы используем cookie для наилучшего представления нашего сайта. Подробнее об этом в Политике конфиденциальности.
Ок

Одинцово

Ваш город:
Одинцово (Московская область)?
Нет
Да
Каталог
Каталог Написать в WhatsApp
Мотоэкипировка

Тросы снегохода TIKSY

Тросы снегохода TIKSY в Москве: актуальный каталог, цены, фото, описание. Купите тросы снегохода tiksy в кредит – оформите заявку онлайн за 1 минуту!

Оригинальные запчасти

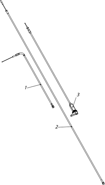
Артикул НАИМЕНОВАНИЕ Кол-во деталей в узле Примечание Наличие Цена Аналоги Фото
1 KT-MOTOR INDUSTRY CO, LTD, Тайвань BW-H24/SPP Трос газа фирмы 95643

Под заказ

1

Под заказ

уточнить

Купить
2 L10600340 Трос тормоза 85491

Под заказ

1

Под заказ

уточнить

Купить
3 C40800680 Трос топливного корректора 89988

Под заказ

1

Под заказ

уточнить

3 400

Купить

Нулевая цена не означает отсутствие товара. Оформите заказ, и менеджер сообщит вам цену и наличие товара, предварительно запросив их у поставщика

Главная Магазины
Корзина0
Профиль