Обратный звонок
Видеоконсультация
Похвалить
Пожаловаться
Сообщить об ошибке
Одинцово
Магазины
X-MOTORS
О компании
Вакансии
Новости
Статьи
Отзывы
Доставка и оплата
Контакты
Письмо директору
+7 (495) 476-65-88
Маркетплейс для
активного отдыха
Каталог товаров
Каталог
Главная
Вход
Сравнение
Избранное
Каталог
Корзина
Новогодние скидки
Лидеры продаж
Б/У техника
Б/У техника
Мотобуксировщики б/у (с пробегом)
Лодки ПВХ б/у (с пробегом)
Лодочные моторы б/у (с пробегом)
SUP-борды б/у
Квадроциклы б/у (с пробегом)
Мотоциклы б/у (с пробегом)
Снегоходы б/у (с пробегом)
Мототехника
Мототехника
Мотоциклы
Круизеры и чопперы
Спортбайки
Туристические мотоциклы
Нэйкед
Мотард
Детские мотоциклы
Кастомные мотоциклы
Питбайки, кроссовые мотоциклы, эндуро
Питбайки
Кроссовые мотоциклы
Эндуро
Турэндуро (Tour Эндуро)
Мототриал
Трициклы
Мопеды и скутеры
Мопеды
Скутеры
Макси-скутеры
Минибайки
Квадроциклы
Квадроциклы
Утилитарные квадроциклы
Спортивные квадроциклы
Шоссейные квадроциклы
Детские и подростковые квадроциклы
Электроквадроциклы для малышей
Снегоходы
Снегоходы
Туристические снегоходы
Утилитарные снегоходы
Спортивные и горные снегоходы
Детские снегоходы, мотоснегокаты
Миниснегоходы
Мотобуксировщики
Мотобуксировщики
Мотобуксировщики новые
Аксессуары для Мотобуксировщиков
Мотосноуборды
Вездеходы
Вездеходы
Запчасти для Вездеходов
Аксессуары для Вездеходов
Водный транспорт
Водный транспорт
SUP-борды
Лодочные моторы
Лодочные моторы новые
Водометные насадки
Электромоторы, электроякоря
Надувные лодки
Лодки под мотор
Гребные лодки
Аксессуары для катеров и лодок
Комплект лодка+мотор (ВЫГОДНО!)
Пластиковые лодки
Алюминиевые лодки
Гидроциклы
Катера
Классические катера
Каютные катера
Одноконсольные катера
Катера с открытой передней частью
Алюминиевые катера
Комбинированные катера
Стеклопластиковые катера
РИБы
Классические РИБы
Складные РИБы
Катамараны
Рафты
Байдарки
Каноэ
Каяки
Водные велосипеды
Автоприцепы
Прицепы для лодок
Дополнительное оборудование
Аксессуары, расходники для ПЛМ
Сумки для ПЛМ
Тележки для ПЛМ
Детали для дистанционного управления
Винты гребные
Водометные насадки
Аксессуары для катеров и лодок
Насосы
Якорно-швартовое оборудование
Спасательные средства
Оборудование для надувных лодок ПВХ
Системы рулевого и дистанционного управления
Топливная система
Осушительная система
Система пресной воды
Душевая система
Фановая система
Плиты транцевые
Приборы контроля
Палубное оборудование
Дельные вещи
Оборудование для парусных яхт, бегучий такелаж
Держатели спиннинга
Осветительное оборудование
Морская акустика и аксессуары
Стеклоочистители и стекла
Мебель судовая
Фурнитура, предметы интерьера
Ремонт, покраска и уход за судном
Принадлежности для транспортировки
Анодная защита
Запчасти для лодочных моторов
Запчасти для катеров и лодок
Снегоуборщики
UTV, Багги
Мотоэкипировка
Мотоэкипировка
Мотошлемы
Шлемы интеграл
Шлемы модуляр
Шлемы мотокросс
Шлемы эндуро, мотард
Шлемы открытые
Детские мотошлемы
Подшлемники, ветрозащита
Пинлоки
Визоры и запчасти
Мотогарнитуры
Мотоочки
Кроссовые очки
Детские очки
Аксессуары для мотоочков
Мотокуртки
Джерси и футболки
Мотоштаны
Мотоперчатки
Мотообувь
Кроссовые мотоботы
Дорожные мотоботы
Гольфы и носки
Аксессуары для мотоботов
Мотокомбинезоны
Мотозащита
Защита тела
Наколенники, налокотники
Аксессуары для мотозащиты
Зимняя экипировка
Шлемы
Очки
Снегоходная одежда
Повседневная зимняя одежда
Защита
Повседневная одежда
Мотосумки, рюкзаки
Мотодождевики
Велосипеды, самокаты
Велосипеды, самокаты
Велосипеды на литых дисках
Детские велосипеды, беговелы
Двухколесные велосипеды
Трехколесные велосипеды
Четырехколесные велосипеды
Велосипеды с ручкой
Беговелы
Подростковые велосипеды
Складные велосипеды
Горные велосипеды
Двухподвесные велосипеды
Городские, дорожные велосипеды
Женские велосипеды
Шоссейные велосипеды
Циклокроссовые велосипеды
Велосипеды BMX
Комфортные велосипеды
Фэтбайки
Электровелосипеды
Складные электровелосипеды
Городские электровелосипеды
Горные электровелосипеды
Двухподвесные электровелосипеды
Электро фэтбайки
Велосипеды с веломотором
Аксессуары
Аксессуары
Защита двигателя для мотоциклов
Аксессуары для техники STELS
Аксессуары для техники IRBIS
Аксессуары для Мотобуксировщиков
Модули, толкачи
Сани, прицепы
Чехлы, кофры, муфты
Электрические компоненты и ЗИП
Элементы кузова и подвески
Ветровые стекла
Для катеров и лодок
Для квадроциклов и вездеходов
Для мотоциклов и скутеров
Для снегоходов
Выносы шноркелей, радиаторов
Дополнительный свет
Канистры
Кофры (сумки)
Кофры, сумки для Квадроциклов
Кофры, сумки для Мопедов/Скутеров
Кофры, сумки для Мотобуксировщиков
Кофры, сумки для Мотоциклов
Кофры, сумки для Снегоходов
Лебедки
Подкаты, кантователи для снегоходов
Расширители колес
Снегоуборочные отвалы
Чехлы
Чехлы для UTV (Багги)
Чехлы для Вездеходов
Чехлы для Квадроциклов
Чехлы для Мотобуксировщиков
Чехлы для Мотоциклов
Чехлы для Снегоходов
Зимние комплекты для техники
Гусеницы
Гусеницы
Гусеницы для ATV/UTV/Багги
Гусеницы для автомобилей
Гусеницы для мотобуксировщиков
Гусеницы для мотоциклов
Запчасти
Запчасти
Общий каталог: цепи, фильтра, колодки, ремни, свечи, звезды, аккумуляторы, ручки и т.д
Общий каталог: камеры, шины, колеса, обода, спицы
Общий каталог: Детали корпуса, Рычаги, Педали, Грипсы, Пластик, Поворотники, пульты и т.д
Общий каталог: Электрика (CDI, катушки, коммутаторы, стабилизаторы, реле, лягушки, лампочки и т.д)
Запчасти для китайских двигателей
Запчасти для квадроциклов
Запчасти для снегоходов
Запчасти для мотоциклов, мопедов
Запчасти для скутеров
Запчасти для трициклов
Запчасти для вездеходов
Запчасти для лодочных моторов
Запчасти для лодок и катеров
Запчасти по производителю
Запчасти для садовой техники
Шины и диски
Запчасти для мотобуксировщиков
Шины, диски
Шины, диски
Для квадроциклов
Покрышки для квадроциклов
Камеры для квадроциклов
Диски для квадроциклов
Для мототехники
Покрышки для дорожной мототехники
Покрышки для внедорожной мототехники
Камеры для мототехники
Для картинга
Покрышки для картинга
Для велосипедов
Шины для велосипедов
Камеры для велосипедов
Для садовой техники
Покрышки для садовой техники
Камеры для садовой техники
Прицепы, сани
Прицепы, сани
Прицепы для мотоциклов и мопедов
Прицепы для перевозки мототехники
Сани
Чехлы
Электротранспорт
Электротранспорт
Электромашинки детские
Электроквадроциклы детские
Электромашинки детские
Электромотоциклы детские
Сигвеи
Электромотоциклы
Электроскейты
Электроскутеры
Дрифткарт (Электротрайк)
Мотоколеса
Электровелосипеды
Электроквадроциклы
Электросамокаты
Электроснегоходы
ГСМ
ГСМ
Вилочные и амортизаторные масла
Трансмиссионные масла
Масла для ATV - UTV
Масла для 2-х тактных ATV - UTV
Масла для 4-х тактных ATV - UTV
Масла для водной техники
Масла для 2-х тактных ПЛМ
Масла для 4-х тактных ПЛМ
Масла для гидроциклов
Трансмиссионные масла для ПЛМ
Масла для скутеров и мотоциклов
Масла для 2-х тактных скутеров и мотоциклов
Масла для 4-х тактных скутеров и мотоциклов
Масла для садовой техники
Масла для снегоходов
Масла для 2-х тактных снегоходов
Масла для 4-х тактных снегоходов
Смазки
Смазки и пропитки
Уход за цепью
Одинцово
Магазины
+7 (495) 476-65-88
Пн-Вс с 10-00 до 19-00
Каталог товаров
Новогодние скидки
Предзаказ
Акции
Лидеры продаж
Отзывы клиентов
Видеообзоры от X-MOTORS
Техническое обслуживание
Адреса магазинов
Компания X-MOTORS
О компании
Политика конфиденциальности
Видеообзоры
Видеоотзывы
Отзывы о компании
Вакансии
Новости
Статьи
Покупателям
Акции и скидки
Доставка и оплата
Рассрочка и кредит
Правила представления информации
Сервис
Техническое обслуживание
Гарантийный ремонт
Платный ремонт
Контакты
Магазины
Контакты
Письмо директору
Реквизиты
Каталог товаров
РАСПРОДАЖА
Лучшее предложение
Б/У техника
Все товары из категории
Мотобуксировщики б/у (с пробегом)
Лодки ПВХ б/у (с пробегом)
Лодочные моторы б/у (с пробегом)
SUP-борды б/у
Квадроциклы б/у (с пробегом)
Мотоциклы б/у (с пробегом)
Снегоходы б/у (с пробегом)
Мототехника
Все товары из категории
Мотоциклы
Мотоциклы
Все товары из категории
Круизеры и чопперы
Спортбайки
Туристические мотоциклы
Нэйкед
Мотард
Детские мотоциклы
Кастомные мотоциклы
Питбайки, кроссовые мотоциклы, эндуро
Питбайки, кроссовые мотоциклы, эндуро
Все товары из категории
Питбайки
Кроссовые мотоциклы
Эндуро
Турэндуро (Tour Эндуро)
Мототриал
Трициклы
Мопеды и скутеры
Мопеды и скутеры
Все товары из категории
Мопеды
Скутеры
Макси-скутеры
Минибайки
Квадроциклы
Все товары из категории
Утилитарные квадроциклы
Спортивные квадроциклы
Шоссейные квадроциклы
Детские и подростковые квадроциклы
Электроквадроциклы для малышей
Снегоходы
Все товары из категории
Туристические снегоходы
Утилитарные снегоходы
Спортивные и горные снегоходы
Детские снегоходы, мотоснегокаты
Миниснегоходы
Мотобуксировщики
Все товары из категории
Мотобуксировщики новые
Аксессуары для Мотобуксировщиков
Мотосноуборды
Вездеходы
Все товары из категории
Запчасти для Вездеходов
Аксессуары для Вездеходов
Водный транспорт
Все товары из категории
SUP-борды
Лодочные моторы
Лодочные моторы
Все товары из категории
Лодочные моторы новые
Водометные насадки
Электромоторы, электроякоря
Надувные лодки
Надувные лодки
Все товары из категории
Лодки под мотор
Гребные лодки
Аксессуары для катеров и лодок
Комплект лодка+мотор (ВЫГОДНО!)
Пластиковые лодки
Алюминиевые лодки
Гидроциклы
Катера
Катера
Все товары из категории
Классические катера
Каютные катера
Одноконсольные катера
Катера с открытой передней частью
Алюминиевые катера
Комбинированные катера
Стеклопластиковые катера
РИБы
РИБы
Все товары из категории
Классические РИБы
Складные РИБы
Катамараны
Рафты
Байдарки
Каноэ
Каяки
Водные велосипеды
Автоприцепы
Автоприцепы
Все товары из категории
Прицепы для лодок
Дополнительное оборудование
Аксессуары, расходники для ПЛМ
Аксессуары, расходники для ПЛМ
Все товары из категории
Сумки для ПЛМ
Тележки для ПЛМ
Детали для дистанционного управления
Винты гребные
Водометные насадки
Аксессуары для катеров и лодок
Аксессуары для катеров и лодок
Все товары из категории
Насосы
Якорно-швартовое оборудование
Спасательные средства
Оборудование для надувных лодок ПВХ
Системы рулевого и дистанционного управления
Топливная система
Осушительная система
Система пресной воды
Душевая система
Фановая система
Плиты транцевые
Приборы контроля
Палубное оборудование
Дельные вещи
Оборудование для парусных яхт, бегучий такелаж
Держатели спиннинга
Осветительное оборудование
Морская акустика и аксессуары
Стеклоочистители и стекла
Мебель судовая
Фурнитура, предметы интерьера
Ремонт, покраска и уход за судном
Принадлежности для транспортировки
Анодная защита
Запчасти для лодочных моторов
Запчасти для катеров и лодок
Снегоуборщики
UTV, Багги
Мотоэкипировка
Все товары из категории
Мотошлемы
Мотошлемы
Все товары из категории
Шлемы интеграл
Шлемы модуляр
Шлемы мотокросс
Шлемы эндуро, мотард
Шлемы открытые
Детские мотошлемы
Подшлемники, ветрозащита
Пинлоки
Визоры и запчасти
Мотогарнитуры
Мотоочки
Мотоочки
Все товары из категории
Кроссовые очки
Детские очки
Аксессуары для мотоочков
Мотокуртки
Джерси и футболки
Мотоштаны
Мотоперчатки
Мотообувь
Мотообувь
Все товары из категории
Кроссовые мотоботы
Дорожные мотоботы
Гольфы и носки
Аксессуары для мотоботов
Мотокомбинезоны
Мотозащита
Мотозащита
Все товары из категории
Защита тела
Наколенники, налокотники
Аксессуары для мотозащиты
Зимняя экипировка
Зимняя экипировка
Все товары из категории
Шлемы
Очки
Снегоходная одежда
Повседневная зимняя одежда
Защита
Повседневная одежда
Мотосумки, рюкзаки
Мотодождевики
Велосипеды, самокаты
Все товары из категории
Велосипеды на литых дисках
Детские велосипеды, беговелы
Детские велосипеды, беговелы
Все товары из категории
Двухколесные велосипеды
Трехколесные велосипеды
Четырехколесные велосипеды
Велосипеды с ручкой
Беговелы
Подростковые велосипеды
Складные велосипеды
Горные велосипеды
Двухподвесные велосипеды
Городские, дорожные велосипеды
Женские велосипеды
Шоссейные велосипеды
Циклокроссовые велосипеды
Велосипеды BMX
Комфортные велосипеды
Фэтбайки
Электровелосипеды
Электровелосипеды
Все товары из категории
Складные электровелосипеды
Городские электровелосипеды
Горные электровелосипеды
Двухподвесные электровелосипеды
Электро фэтбайки
Велосипеды с веломотором
Аксессуары
Все товары из категории
Защита двигателя для мотоциклов
Аксессуары для техники STELS
Аксессуары для техники IRBIS
Аксессуары для Мотобуксировщиков
Аксессуары для Мотобуксировщиков
Все товары из категории
Модули, толкачи
Сани, прицепы
Чехлы, кофры, муфты
Электрические компоненты и ЗИП
Элементы кузова и подвески
Ветровые стекла
Ветровые стекла
Все товары из категории
Для катеров и лодок
Для квадроциклов и вездеходов
Для мотоциклов и скутеров
Для снегоходов
Выносы шноркелей, радиаторов
Дополнительный свет
Канистры
Кофры (сумки)
Кофры (сумки)
Все товары из категории
Кофры, сумки для Квадроциклов
Кофры, сумки для Мопедов/Скутеров
Кофры, сумки для Мотобуксировщиков
Кофры, сумки для Мотоциклов
Кофры, сумки для Снегоходов
Лебедки
Подкаты, кантователи для снегоходов
Расширители колес
Снегоуборочные отвалы
Чехлы
Чехлы
Все товары из категории
Чехлы для UTV (Багги)
Чехлы для Вездеходов
Чехлы для Квадроциклов
Чехлы для Мотобуксировщиков
Чехлы для Мотоциклов
Чехлы для Снегоходов
Зимние комплекты для техники
Гусеницы
Все товары из категории
Гусеницы для ATV/UTV/Багги
Гусеницы для автомобилей
Гусеницы для мотобуксировщиков
Гусеницы для мотоциклов
Запчасти
Все товары из категории
Общий каталог: цепи, фильтра, колодки, ремни, свечи, звезды, аккумуляторы, ручки и т.д
Общий каталог: цепи, фильтра, колодки, ремни, свечи, звезды, аккумуляторы, ручки и т.д
Все товары из категории
Масло моторное, трансмиссионное
Цепи приводные
Звезды ведомые, ведущие
Фильтры
Колодки тормозные
Ремни вариатора, вентилятора
Свечи зажигания
Аккумуляторы
Сальники, пыльники
Общий каталог: камеры, шины, колеса, обода, спицы
Общий каталог: камеры, шины, колеса, обода, спицы
Все товары из категории
Антибуксаторы
Флиппер на обод колеса
Камеры для мотоциклов ,квадроциклов
Мотопокрышки, квадрошины, шины
Диски, обода, спицы
Общий каталог: Детали корпуса, Рычаги, Педали, Грипсы, Пластик, Поворотники, пульты и т.д
Общий каталог: Детали корпуса, Рычаги, Педали, Грипсы, Пластик, Поворотники, пульты и т.д
Все товары из категории
Ручки руля, грипсы, грузики
Поворотники для мототехники
Рычаги (руля) тормоза, сцепления, газа
Рычаги переключения передач, педали тормоза
Троса газа, тормоза, подсоса и т.д.
Кикстартера, ручной, ножной запуск
Подножки водителя, пассажира
Тормозная система, тормозные цилиндры, бачки, машинки, диски тормозные
Крышки бака, сапуны бака
Оси колеса, маятника
Пластик кузова
Перья вилки ,передние амортизаторы
Щитки приборов, приборная панель
Фары, фонари
Рули
Бензобаки, детали бензобака
Сиденья водителя, пассажира
Рычаги подвески, маятники
Глушители выхлопных газов
Общий каталог: Электрика (CDI, катушки, коммутаторы, стабилизаторы, реле, лягушки, лампочки и т.д)
Общий каталог: Электрика (CDI, катушки, коммутаторы, стабилизаторы, реле, лягушки, лампочки и т.д)
Все товары из категории
Блок электронного зажигания (CDI), коммутаторы
Катушки зажигания для мототехники
Реле электростартера, поворотов, габаритов и подогрева ручек, Реле-регулятор напряжения
Датчики масла, температуры, вентилятора, кислорода, датчики (лягушки) п.п, скорости
Замки зажигания, комплекты замков
Пульты, домики, блоки переключения руля
Лампочки для мото, квадро, снего
Звуковые сигналы
Запчасти для китайских двигателей
Запчасти для китайских двигателей
Все товары из категории
Запчасти для двигателя IE30, IE40-49, IE40-F6, IE50-F6, LMATV-049HM, (2Т 49сс, все квадры, питы, бензопилы)
Запчасти для двигателя 139QMB, 141QMB, 139QMА, 1P39QMB (4Т скутера)
Запчасти для двигателя 1E40QMB, 1E41QMB, 1E50QMB, 1E60QMB, 1E70QMB, 1E90QMB (2Т скутера)
Запчасти для двигателя 139FMB, 1P39FM. 1P39, 1P39FMB
Запчасти для двигателя 147FMD, 147FMH , 1P47FMD, 1P47FME
Запчасти для двигателя 152FMH, 152FMA, 1P52
Запчасти для двигателя 152FMI, ZS1P52FMI, 1P52, YX 110-125
Запчасти для двигателя H1P622FMJ-PRO
Запчасти для двигателя S1P622FMJ-PRO
Запчасти для двигателя S1P611FMI-PRO
Запчасти для двигателя 1P61FML-PRO ATV 150/190 (с аналогами)
Запчасти для двигателя 1P61FML-PRO ATV 150/190
Запчасти для двигателя 1P75FMJ-PRO квадроцикл 250/300 баланс.вал
Запчасти для двигателя L1P75CVT-PRO
Запчасти для двигателя NC300S
Запчасти для двигателя RW171FMM
Запчасти для двигателя ZS1P44FMC
Запчасти для двигателя 1P75FMJ, 1P75FMJ-PRO (ATV 300cc)
Запчасти для двигателя 152QMI, RC125T
Запчасти для двигателя 153FMI, ZS153FMI, YX 125, W120
Запчасти для двигателя 154FMI, ZS154FMI, YX 125
Запчасти для двигателя 156FMJ,YX1P56FMJ, 1P56FMJ, W063, YX 140, YX 150, W150
Запчасти для двигателя 156FMI, 1P56FMI, 157FMI, 1P57FMI
Запчасти для двигателя 157QMJ, 1P57QMJ, 158QMJ, 1P58QMJ
Запчасти для двигателя 1P62QML, 1P63QML, JL1P62F, 1P65QML
Запчасти для двигателя 1P63QMK, 1P63QMK-3D, JN1P63QMK-2D (ATV с баланс.валом)
Запчасти для двигателя Z1P75QML-PRO
Запчасти для двигателя JN1P75QML-PRO
Запчасти для двигателя 160FMJ, 1P60FMK, 160FMK, YX160 (W160)
Запчасти для двигателя 161QMK, GY6-170/180/200,
Запчасти для двигателя 161FMJ, RC150-GY, RC150-23
Запчасти для двигателя 162FMJ
Запчасти для двигателя 1P62YML-2, ZS1P62YML-2, W190, Z190
Запчасти для двигателя 163FML, 163FML-2
Запчасти для двигателя 164FML
Запчасти для двигателя 165FML, 166FML, 167FML
Запчасти для двигателя СВВ250, 165FMM, 166FMM, 167FMM
Запчасти для двигателя CB250D-G, 165MM, 166MM, 165FMM, 166FMM
Запчасти для двигателя 167FMM, 167MM
Запчасти для двигателя 168FMM, 169MM, 169FMM, ZS169MM
Запчасти для двигателя 170MM, 170MM-2, 170FMM, ZS170MM-2
Запчасти для двигателя CB250-F, ZS-CB250A, 172FMM-3A, 172MM, ZS172FMM, CB250
Запчасти для двигателя CB300F, ZS175FMM-3A (177FMN)
Запчасти для двигателя CB250R, 172FMM-6, ZS172FMM-6 (4 клапана)
Запчасти для двигателя CB250RL, ZS-CB250RL, 172FMM-7, ZS172FMM-7 (4 клапана, с баланс.валом))
Запчасти для двигателя CB300RL, ZS-CB300RL, 175FMM-7, ZS175FMM-7 (4 клапана, с баланс.валом))
Запчасти для двигателя ZS-PR250, PR250, ZS172FMM-5, 172FMM-5 (с баланс.валом)
Запчасти для двигателя ZS-PR300, PR300, ZS-175FMN, 175FMN (с баланс.валом)
Запчасти для двигателя NC250, ZS-NC250б 177MM, 177FMM, ZS177MM (водн.охлжд, 4 клапана, балан.вал, однокамерный)
Запчасти для двигателя NC300, ZS-NC300, ZS182MN, 182MN (водн.охлжд, 4 клапана, балан.вал, однокамерный)
Запчасти для двигателя NC250S, ZS-NC250S, ZS 177MM-A, 177MM-A (водн.охлжд, 4 клапана, балан.вал, двухкамерный, 2 распредвала)
Запчасти для двигателя NC300S, ZS-NC300, ZS182MN, 182MN (водн.охлжд, 4 клапана, балан.вал, двухкамерный, 2 распредвала))
Запчасти для двигателя NX250, ZS-NX250, ZS178MM-2, 178MN-2 (водн.охлжд 4 клапана, балан.вал, двухкамерный, 2 распредвала)
Запчасти для двигателя CBS300, 174MN, ZS174MN, 174MN-3, ZS 174MN (вод.охлаждение, 4 клапанный)
Запчасти для двигателя NB300, ZS-NB300, ZS174MN-5A, 174MN-5A, ZS 174MN-5 (вод.охлаждение, 4 клапанный)
Запчасти для двигателя NC450, ZS-NC450, 194MQ, ZS194MQ (водн.охлжд 4 клапана, балан.вал, однокамерный)
Запчасти для двигателя 253FMM, FMM253, CTM250, QJ250
Запчасти для двигателей общего назначения LIFAN, HONDA, ZONGSHEN
Запчасти для двигателей Motoland
Запчасти для двигателей Racer
Запчасти для квадроциклов
Запчасти для квадроциклов
Все товары из категории
Запчасти для квадроциклов STELS
Запчасти для квадроциклов AODES (ODES)
Запчасти для квадроциклов PROMAX
Запчасти для квадроциклов CHANGJIANG (CJ)
Запчасти для квадроциклов GBM
Запчасти для квадроциклов IRBIS
Запчасти для квадроциклов РУССКАЯ МЕХАНИКА
Запчасти для снегоходов
Запчасти для снегоходов
Все товары из категории
Запчасти для снегоходов STELS
Запчасти для снегоходов РУССКАЯ МЕХАНИКА
Запчасти для снегоходов IRBIS
Запчасти для снегоходов SNOWFOX
Запчасти для снегоходов WELS
Ветровые стекла для снегоходов
Гусеницы для снегоходов
Запчасти для снегоходов IKUDZO
Запчасти для снегоходов MOTOLAND
Запчасти для снегоходов PROMAX
Запчасти для мотоциклов, мопедов
Запчасти для мотоциклов, мопедов
Все товары из категории
Запчасти для мотоцикла АЛЬФА (ALPHA), ДЕЛЬТА (DELTA) Zodiak, Gvalior и т.д (по типу Альфы)
Запчасти для Российских мотоциклов: ИЖ, УРАЛ, МИНСК, ТУЛА, ВОСХОД, ДНЕПР, ЯВА, ОРИОН, КАРПАТЫ
Запчасти для мотоциклов FRATELI
Запчасти для мопеда FAIDET
Запчасти для мопедов PROMAX
Запчасти для мотоциклов BENDA
Запчасти для мотоциклов FAIDET
Запчасти для мотоциклов KOVE
Запчасти для мотоциклов PROMAX
Запчасти для мотоциклов RACER
Запчасти для скутеров
Запчасти для скутеров
Все товары из категории
Запчасти для скутеров HONDA
Запчасти для скутеров IRBIS
Запчасти для скутеров PROMAX
Запчасти для скутеров RACER
Запчасти для скутеров STELS
Запчасти для скутеров SUZUKI
Запчасти для скутеров YAMAHA
Запчасти для трициклов
Запчасти для трициклов
Все товары из категории
Запчасти для трициклов LIFAN
Запчасти для трициклов Racer
Запчасти для трициклов STELS
Общий каталог
Запчасти для вездеходов
Запчасти для лодочных моторов
Запчасти для лодочных моторов
Все товары из категории
Запчасти для подвесных лодочных моторов BREEZE
Запчасти для подвесных лодочных моторов GLADIATOR
Запчасти для подвесных лодочных моторов HIDEA
Запчасти для подвесных лодочных моторов MERCURY (2х-тактные)
Запчасти для подвесных лодочных моторов MERCURY (4х-тактные)
Запчасти для подвесных лодочных моторов MARLIN
Запчасти для подвесных лодочных моторов PARSUN
Запчасти для подвесных лодочных моторов SEA-PRO
Запчасти для подвесных лодочных моторов SEANOVO
Запчасти для подвесных лодочных моторов SUZUKI
Запчасти для подвесных лодочных моторов TITAN
Запчасти для подвесных лодочных моторов TOHATSU
Запчасти для подвесных лодочных моторов YAMABISI
Запчасти для подвесных лодочных моторов YAMAHA
Запчасти для подвесных лодочных моторов ZONGSHEN
Запчасти для подвесных лодочных моторов PROMAX
Запчасти для лодок и катеров
Запчасти по производителю
Запчасти по производителю
Все товары из категории
Запчасти STELS (СТЕЛС)
Запчасти IRBIS (ИРБИС)
Запчасти RACER (РЕЙСЕР)
Запчасти CENTERPLAST (ЦЕНТРОПЛАСТ)
Запчасти MTR (МТР)
Запчасти RED ENERGY (РЭД ЭНЕРДЖИ)
Запчасти URAL-MOTORS (УРАЛ-МОТОРС)
Запчасти BSE (БСЕ)
Запчасти ZONGSHEN (ЗОНГШЕН)
Запчасти KOIRA (КОЙРА)
Запчасти KAYO (КАЙО)
Запчасти PARSUN (ПАРСУН)
Запчасти PATRON (ПАТРОН)
Запчасти RM (РУССКАЯ МЕХАНИКА)
Запчасти YAMAHA (ЯМАХА)
Запчасти для садовой техники
Запчасти для садовой техники
Все товары из категории
Двигатели общего назначения LIFAN
Запчасти для бензопил
Запчасти для двигателей общего назначения LIFAN
Запчасти для садовой техники Lifan
Запчасти для садовой техники Motoland
Шины и диски
Запчасти для мотобуксировщиков
Запчасти для мотобуксировщиков
Все товары из категории
Запчасти для мотобуксировщиков 6-8л.с (общий каталог)
Запчасти для мотобуксировщиков 9-13л.с (общий каталог)
Запчасти для мотобуксировщиков 15-19л.с (общий каталог)
Запчасти для мотобуксировщиков 20-24л.с (общий каталог)
Запчасти для мотобуксировщиков IKUDZO
Запчасти для мотобуксировщиков IRBIS
Запчасти для мотобуксировщиков KOIRA
Запчасти для мотобуксировщиков OPTI MAX (PREMIUM SERIES)
Запчасти для мотобуксировщиков POMOR
Запчасти для мотобуксировщиков SNOW DOG
Запчасти для мотобуксировщиков МОТОМИР
Запчасти для мотобуксировщиков РОСТИН
Шины, диски
Все товары из категории
Для квадроциклов
Для квадроциклов
Все товары из категории
Покрышки для квадроциклов
Камеры для квадроциклов
Диски для квадроциклов
Для мототехники
Для мототехники
Все товары из категории
Покрышки для дорожной мототехники
Покрышки для внедорожной мототехники
Камеры для мототехники
Для картинга
Для картинга
Все товары из категории
Покрышки для картинга
Для велосипедов
Для велосипедов
Все товары из категории
Шины для велосипедов
Камеры для велосипедов
Для садовой техники
Для садовой техники
Все товары из категории
Покрышки для садовой техники
Камеры для садовой техники
Прицепы, сани
Все товары из категории
Прицепы для мотоциклов и мопедов
Прицепы для перевозки мототехники
Сани
Чехлы
Электротранспорт
Все товары из категории
Электромашинки детские
Электромашинки детские
Все товары из категории
Электроквадроциклы детские
Электромашинки детские
Электромотоциклы детские
Сигвеи
Электромотоциклы
Электроскейты
Электроскутеры
Дрифткарт (Электротрайк)
Мотоколеса
Электровелосипеды
Электроквадроциклы
Электросамокаты
Электроснегоходы
ГСМ
Все товары из категории
Вилочные и амортизаторные масла
Трансмиссионные масла
Масла для ATV - UTV
Масла для ATV - UTV
Все товары из категории
Масла для 2-х тактных ATV - UTV
Масла для 4-х тактных ATV - UTV
Масла для водной техники
Масла для водной техники
Все товары из категории
Масла для 2-х тактных ПЛМ
Масла для 4-х тактных ПЛМ
Масла для гидроциклов
Трансмиссионные масла для ПЛМ
Масла для скутеров и мотоциклов
Масла для скутеров и мотоциклов
Все товары из категории
Масла для 2-х тактных скутеров и мотоциклов
Масла для 4-х тактных скутеров и мотоциклов
Масла для садовой техники
Масла для снегоходов
Масла для снегоходов
Все товары из категории
Масла для 2-х тактных снегоходов
Масла для 4-х тактных снегоходов
Смазки
Смазки и пропитки
Уход за цепью
Главная
Запчасти
Запчасти для скутеров
Запчасти для скутеров STELS
Запчасти для скутера STELS LEADER 50
Запчасти
Запчасти для скутера STELS LEADER 50
найти
Нужна помощь менеджера?
Обратиться за помощью
Категория:
Запчасти для скутера STELS LEADER 50
Общий каталог: цепи, фильтра, колодки, ремни, свечи, звезды, аккумуляторы, ручки и т.д
Общий каталог: камеры, шины, колеса, обода, спицы
Общий каталог: Детали корпуса, Рычаги, Педали, Грипсы, Пластик, Поворотники, пульты и т.д
Общий каталог: Электрика (CDI, катушки, коммутаторы, стабилизаторы, реле, лягушки, лампочки и т.д)
Запчасти для китайских двигателей
Запчасти для квадроциклов
Запчасти для снегоходов
Запчасти для мотоциклов, мопедов
Запчасти для скутеров
Запчасти для скутеров HONDA
Запчасти для скутера Honda TACT50, TACTIC, LEAD, DIO, ZX
Запчасти для скутеров IRBIS
Запчасти для скутера IRBIS Centrino S
Запчасти для скутера IRBIS Kaori
Запчасти для скутера IRBIS LX
Запчасти для скутера IRBIS Nirvana
Запчасти для скутера IRBIS RZR
Запчасти для скутера IRBIS Z50R 4Т
Запчасти для скутера IRBIS BWS
Запчасти для скутера IRBIS Centrino
Запчасти для скутера IRBIS FR
Запчасти для скутера IRBIS Grace
Запчасти для скутера IRBIS LX GTR
Запчасти для скутера IRBIS Z50RS
Запчасти для скутеров PROMAX
Запчасти для скутера МаксиСкутер PROMAX-HONDA ADV
Запчасти для скутеров RACER
Запчасти для скутера Racer RC50QT-9/RC125T-9 Lupus
Воздушный фильтр СКУТЕРА Racer RC50QT-9/RC125T-9 Lupus
Глушитель СКУТЕРА Racer RC50QT-9/RC125T-9 Lupus
Двигатель СКУТЕРА Racer RC50QT-9/RC125T-9 Lupus
Заднее колесо СКУТЕРА Racer RC50QT-9/RC125T-9 Lupus
Задний амортизатор СКУТЕРА Racer RC50QT-9/RC125T-9 Lupus
Задний тормоз СКУТЕРА Racer RC50QT-9/RC125T-9 Lupus
Замки СКУТЕРА Racer RC50QT-9/RC125T-9 Lupus
Зеркала СКУТЕРА Racer RC50QT-9/RC125T-9 Lupus
Набор инструментов, документация СКУТЕРА Racer RC50QT-9/RC125T-9 Lupus
Облицовка боковая СКУТЕРА Racer RC50QT-9/RC125T-9 Lupus
Облицовка внутренняя СКУТЕРА Racer RC50QT-9/RC125T-9 Lupus
Облицовка передняя, задняя СКУТЕРА Racer RC50QT-9/RC125T-9 Lupus
Освещение СКУТЕРА Racer RC50QT-9/RC125T-9 Lupus
Переднее колесо СКУТЕРА Racer RC50QT-9/RC125T-9 Lupus
Передний тормоз СКУТЕРА Racer RC50QT-9/RC125T-9 Lupus
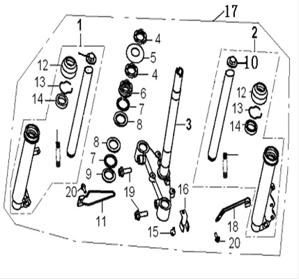
Передняя вилка СКУТЕРА Racer RC50QT-9/RC125T-9 Lupus
Рама СКУТЕРА Racer RC50QT-9/RC125T-9 Lupus
Руль СКУТЕРА Racer RC50QT-9/RC125T-9 Lupus
Ручка для пассажира СКУТЕРА Racer RC50QT-9/RC125T-9 Lupus
Сидение СКУТЕРА Racer RC50QT-9/RC125T-9 Lupus
Спидометр СКУТЕРА Racer RC50QT-9/RC125T-9 Lupus
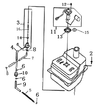
Топливная система СКУТЕРА Racer RC50QT-9/RC125T-9 Lupus
Электропроводка СКУТЕРА Racer RC50QT-9/RC125T-9 Lupus
Запчасти для скутера Racer RC50QT-19/RC125T-19 Arrow
Воздушный фильтр СКУТЕРА Racer RC50QT-19/RC125T-19 Arrow
Глушитель СКУТЕРА Racer RC50QT-19/RC125T-19 Arrow
Двигатель СКУТЕРА Racer RC50QT-19/RC125T-19 Arrow
Заднее колесо СКУТЕРА Racer RC50QT-19/RC125T-19 Arrow
Задний амортизатор СКУТЕРА Racer RC50QT-19/RC125T-19 Arrow
Задний тормоз СКУТЕРА Racer RC50QT-19/RC125T-19 Arrow
Замки СКУТЕРА Racer RC50QT-19/RC125T-19 Arrow
Зеркала СКУТЕРА Racer RC50QT-19/RC125T-19 Arrow
Облицовка внешняя СКУТЕРА Racer RC50QT-19/RC125T-19 Arrow
Облицовка внутренняя СКУТЕРА Racer RC50QT-19/RC125T-19 Arrow
Освещение СКУТЕРА Racer RC50QT-19/RC125T-19 Arrow
Переднее колесо СКУТЕРА Racer RC50QT-19/RC125T-19 Arrow
Передний тормоз СКУТЕРА Racer RC50QT-19/RC125T-19 Arrow
Передняя вилка СКУТЕРА Racer RC50QT-19/RC125T-19 Arrow
Подставка под ноги СКУТЕРА Racer RC50QT-19/RC125T-19 Arrow
Рама СКУТЕРА Racer RC50QT-19/RC125T-19 Arrow
Руль СКУТЕРА Racer RC50QT-19/RC125T-19 Arrow
Ручка для пассажира СКУТЕРА Racer RC50QT-19/RC125T-19 Arrow
Сидение СКУТЕРА Racer RC50QT-19/RC125T-19 Arrow
Спидометр СКУТЕРА Racer RC50QT-19/RC125T-19 Arrow
Топливная система СКУТЕРА Racer RC50QT-19/RC125T-19 Arrow
Электропроводка СКУТЕРА Racer RC50QT-19/RC125T-19 Arrow
Запчасти для скутера Racer RC50QT-3 Meteor
Воздушный фильтр для скутера Racer RC50QT-3 Meteor
Глушитель для скутера Racer RC50QT-3 Meteor
Двигатель для скутера Racer RC50QT-3 Meteor
Заднее колесо для скутера Racer RC50QT-3 Meteor
Заднее крыло для скутера Racer RC50QT-3 Meteor
Задний амортизатор для скутера Racer RC50QT-3 Meteor
Задняя фара для скутера Racer RC50QT-3 Meteor
Облицовка боковая для скутера Racer RC50QT-3 Meteor
Облицовка внутренняя для скутера Racer RC50QT-3 Meteor
Облицовка внутренняя перед для скутера Racer RC50QT-3 Meteor
Облицовка спидометра для скутера Racer RC50QT-3 Meteor
Переднее колесо для скутера Racer RC50QT-3 Meteor
Переднее крыло для скутера Racer RC50QT-3 Meteor
Передняя облицовка для скутера Racer RC50QT-3 Meteor
Подставка для скутера Racer RC50QT-3 Meteor
Рама для скутера Racer RC50QT-3 Meteor
Руль для скутера Racer RC50QT-3 Meteor
Сидение, подседельный багажник для скутера Racer RC50QT-3 Meteor
Топливная система для скутера Racer RC50QT-3 Meteor
Тросы для скутера Racer RC50QT-3 Meteor
Электропроводка для скутера Racer RC50QT-3 Meteor
Запчасти для скутера Racer RC50QT-6 Sagita
Воздушный фильтр, карбюратор для скутера Racer RC50QT-6 Sagita
Глушитель для скутера Racer RC50QT-6 Sagita
Двигатель для скутера Racer RC50QT-6 Sagita
Заднее колесо для скутера Racer RC50QT-6 Sagita
Задний фонарь, крыло для скутера Racer RC50QT-6 Sagita
Замки для скутера Racer RC50QT-6 Sagita
Зеркала, руль для скутера Racer RC50QT-6 Sagita
Крепления для посадки заднего пассажира для скутера Racer RC50QT-6 Sagita
Облицовка боковая верхняя для скутера Racer RC50QT-6 Sagita
Облицовка боковая нижняя для скутера Racer RC50QT-6 Sagita
Облицовка внутренняя задняя для скутера Racer RC50QT-6 Sagita
Облицовка внутренняя передняя для скутера Racer RC50QT-6 Sagita
Облицовка передняя для скутера Racer RC50QT-6 Sagita
Облицовка спидометра для скутера Racer RC50QT-6 Sagita
Переднее колесо для скутера Racer RC50QT-6 Sagita
Передняя вилка для скутера Racer RC50QT-6 Sagita
Передняя облицовка фары для скутера Racer RC50QT-6 Sagita
Рама для скутера Racer RC50QT-6 Sagita
Сидение, подседельный багажник для скутера Racer RC50QT-6 Sagita
Топливная система для скутера Racer RC50QT-6 Sagita
Тросы для скутера Racer RC50QT-6 Sagita
Электропроводка для скутера Racer RC50QT-6 Sagita
Запчасти для скутеров STELS
Запчасти для скутера STELS LEADER 50
Боковая крышка СКУТЕРА STELS LEADER 50
Вариатор СКУТЕРА STELS LEADER 50
Воздухоочиститель СКУТЕРА STELS LEADER 50
Глушитель СКУТЕРА STELS LEADER 50
Головка цилиндра в сборе СКУТЕРА STELS LEADER 50
Заднее колесо СКУТЕРА STELS LEADER 50
Задний амортизатор СКУТЕРА STELS LEADER 50
Задний свет СКУТЕРА STELS LEADER 50
Защита ног СКУТЕРА STELS LEADER 50
Защита рук, зеркала СКУТЕРА STELS LEADER 50
Инструменты СКУТЕРА STELS LEADER 50
Карбюратор СКУТЕРА STELS LEADER 50
Картер двигателя в сборе СКУТЕРА STELS LEADER 50
Кофр СКУТЕРА STELS LEADER 50
Крышка вариатора в сборе СКУТЕРА STELS LEADER 50
Лепестковый клапан СКУТЕРА STELS LEADER 50
Магнето СКУТЕРА STELS LEADER 50
Масляный насос и его привод СКУТЕРА STELS LEADER 50
Наклейки СКУТЕРА STELS LEADER 50
Охлаждение цилиндра СКУТЕРА STELS LEADER 50
Педаль кик-стартера СКУТЕРА STELS LEADER 50
Переднее колесо в сборе СКУТЕРА STELS LEADER 50
Переднее крыло СКУТЕРА STELS LEADER 50
Передний дисковый тормоз СКУТЕРА STELS LEADER 50
Передняя вилка в сборе СКУТЕРА STELS LEADER 50
Передняя крышка СКУТЕРА STELS LEADER 50
Переключатели СКУТЕРА STELS LEADER 50
Поворотники, головной свет СКУТЕРА STELS LEADER 50
Подножка (Часть 1) СКУТЕРА STELS LEADER 50
Подножка (Часть 2) СКУТЕРА STELS LEADER 50
Поршневая и коленвал в сборе СКУТЕРА STELS LEADER 50
Привод кик-стартера и пусковой механизм СКУТЕРА STELS LEADER 50
Рама СКУТЕРА STELS LEADER 50
Рулевое управление СКУТЕРА STELS LEADER 50
Сиденье СКУТЕРА STELS LEADER 50
Спидометр в сборе (Часть 1) СКУТЕРА STELS LEADER 50
Спидометр в сборе (Часть 2) СКУТЕРА STELS LEADER 50
Топливный бак (Часть 1) СКУТЕРА STELS LEADER 50
Топливный бак (Часть 2) СКУТЕРА STELS LEADER 50
Трансмиссия СКУТЕРА STELS LEADER 50
Электрооборудование (Часть 1) СКУТЕРА STELS LEADER 50
Электрооборудование (Часть 2) СКУТЕРА STELS LEADER 50
Запчасти для скутера STELS OUTLANDER 150
Амортизаторы задние СКУТЕРА STELS OUTLANDER 150
Багажник задний СКУТЕРА STELS OUTLANDER 150
Блок-фара передняя СКУТЕРА STELS OUTLANDER 150
Вариатор СКУТЕРА STELS OUTLANDER 150
Вилка амортизационная СКУТЕРА STELS OUTLANDER 150
Головка цилиндра с газораспределительным механизмом (ГРМ) СКУТЕРА STELS OUTLANDER 150
Двигатель СКУТЕРА STELS OUTLANDER 150
Двигатель, карбюратор, радиатор СКУТЕРА STELS OUTLANDER 150
Запасной инструмент СКУТЕРА STELS OUTLANDER 150
Карбюратор СКУТЕРА STELS OUTLANDER 150
Картер двигателя СКУТЕРА STELS OUTLANDER 150
Колесо заднее СКУТЕРА STELS OUTLANDER 150
Колесо переднее СКУТЕРА STELS OUTLANDER 150
Кофр СКУТЕРА STELS OUTLANDER 150
Кронштейн крепления номерного знака СКУТЕРА STELS OUTLANDER 150
Крыло заднее СКУТЕРА STELS OUTLANDER 150
Крыло переднее СКУТЕРА STELS OUTLANDER 150
Крышка вариатора СКУТЕРА STELS OUTLANDER 150
Крышка головки цилиндра СКУТЕРА STELS OUTLANDER 150
Крышка картера двигателя СКУТЕРА STELS OUTLANDER 150
Масляный насос СКУТЕРА STELS OUTLANDER 150
Наклейки декоративные СКУТЕРА STELS OUTLANDER 150
Облицовка передняя внутренняя СКУТЕРА STELS OUTLANDER 150
Облицовка передняя СКУТЕРА STELS OUTLANDER 150
Облицовка пола СКУТЕРА STELS OUTLANDER 150
Облицовка руля СКУТЕРА STELS OUTLANDER 150
Облицовка сиденья СКУТЕРА STELS OUTLANDER 150
Опоры для ног СКУТЕРА STELS OUTLANDER 150
Панель приборная аналоговая СКУТЕРА STELS OUTLANDER 150
Поршень и коленвал СКУТЕРА STELS OUTLANDER 150
Рама СКУТЕРА STELS OUTLANDER 150
Редуктор СКУТЕРА STELS OUTLANDER 150
Руль и троса управления СКУТЕРА STELS OUTLANDER 150
Сиденье и багажный отсек СКУТЕРА STELS OUTLANDER 150
Система охлаждения СКУТЕРА STELS OUTLANDER 150
Стартер, магнето СКУТЕРА STELS OUTLANDER 150
Топливный бак СКУТЕРА STELS OUTLANDER 150
Тормоз дисковый задний СКУТЕРА STELS OUTLANDER 150
Тормоз дисковый передний СКУТЕРА STELS OUTLANDER 150
Труба выхлопная с глушителем СКУТЕРА STELS OUTLANDER 150
Фильтр воздушный СКУТЕРА STELS OUTLANDER 150
Цепь ГРМ СКУТЕРА STELS OUTLANDER 150
Цилиндр СКУТЕРА STELS OUTLANDER 150
Электрооборудование СКУТЕРА STELS OUTLANDER 150
Элементы системы охлаждения СКУТЕРА STELS OUTLANDER 150
Запчасти для скутера STELS SKIF 50
Амортизатор задний СКУТЕРА STELS SKIF 50
Багажник задний СКУТЕРА STELS SKIF 50
Бачок масляный СКУТЕРА STELS SKIF 50
Вариатор СКУТЕРА STELS SKIF 50
Вилка амортизационная СКУТЕРА STELS SKIF 50
Впускная система СКУТЕРА STELS SKIF 50
Головка цилиндра, цилиндр СКУТЕРА STELS SKIF 50
Двигатель СКУТЕРА STELS SKIF 50
Карбюратор СКУТЕРА STELS SKIF 50
Картер двигателя СКУТЕРА STELS SKIF 50
Колесо заднее СКУТЕРА STELS SKIF 50
Колесо переднее СКУТЕРА STELS SKIF 50
Кофр СКУТЕРА STELS SKIF 50
Крыло заднее СКУТЕРА STELS SKIF 50
Крыло переднее СКУТЕРА STELS SKIF 50
Крышка вариатора СКУТЕРА STELS SKIF 50
Магнето СКУТЕРА STELS SKIF 50
Масляный насос СКУТЕРА STELS SKIF 50
Наклейки декоративные СКУТЕРА STELS SKIF 50
Облицовка пола и опоры СКУТЕРА STELS SKIF 50
Облицовка руля и зеркала СКУТЕРА STELS SKIF 50
Облицовка сиденья СКУТЕРА STELS SKIF 50
Облицовка фары СКУТЕРА STELS SKIF 50
Панель приборов аналоговая СКУТЕРА STELS SKIF 50
Панель приборов цифровая СКУТЕРА STELS SKIF 50
Педаль кик-стартера СКУТЕРА STELS SKIF 50
Поршень, коленвал СКУТЕРА STELS SKIF 50
Пусковой механизм СКУТЕРА STELS SKIF 50
Рама СКУТЕРА STELS SKIF 50
Руль и троса управления СКУТЕРА STELS SKIF 50
Сиденье и багажный отсек СКУТЕРА STELS SKIF 50
Система охлаждения СКУТЕРА STELS SKIF 50
Топливный бак СКУТЕРА STELS SKIF 50
Тормоз дисковый передний СКУТЕРА STELS SKIF 50
Трансмиссия СКУТЕРА STELS SKIF 50
Труба выхлопная с глушителем (Часть 1) СКУТЕРА STELS SKIF 50
Труба выхлопная с глушителем (Часть 2) СКУТЕРА STELS SKIF 50
Фильтр воздушный СКУТЕРА STELS SKIF 50
Электрооборудование СКУТЕРА STELS SKIF 50
Запчасти для скутера STELS TACTIC 100
Амортизатор задний СКУТЕРА STELS TACTIC 100
Бачок маслянный СКУТЕРА STELS TACTIC 100
Вариатор СКУТЕРА STELS TACTIC 100
Вилка амортизационная СКУТЕРА STELS TACTIC 100
Впускная система СКУТЕРА STELS TACTIC 100
Головка цилиндра, цилиндр СКУТЕРА STELS TACTIC 100
Дополнительное оборудование СКУТЕРА STELS TACTIC 100
Заднее световое оборудование СКУТЕРА STELS TACTIC 100
Запасной инструмент СКУТЕРА STELS TACTIC 100
Карбюратор СКУТЕРА STELS TACTIC 100
Картер двигателя СКУТЕРА STELS TACTIC 100
Колесо заднее СКУТЕРА STELS TACTIC 100
Колесо переднее СКУТЕРА STELS TACTIC 100
Кофр СКУТЕРА STELS TACTIC 100
Крыло переднее СКУТЕРА STELS TACTIC 100
Крышка вариатора СКУТЕРА STELS TACTIC 100
Магнето СКУТЕРА STELS TACTIC 100
Масляный насос СКУТЕРА STELS TACTIC 100
Наклейки декоративные (Часть 1) СКУТЕРА STELS TACTIC 100
Наклейки декоративные (Часть 2) СКУТЕРА STELS TACTIC 100
Наклейки декоративные (Часть 3) СКУТЕРА STELS TACTIC 100
Наклейки декоративные (Часть 4) СКУТЕРА STELS TACTIC 100
Облицовка нижняя СКУТЕРА STELS TACTIC 100
Облицовка пола и опоры СКУТЕРА STELS TACTIC 100
Облицовка руля и зеркал СКУТЕРА STELS TACTIC 100
Облицовка сиденья СКУТЕРА STELS TACTIC 100
Облицовка фары СКУТЕРА STELS TACTIC 100
Органы управления рулевые СКУТЕРА STELS TACTIC 100
Панель приборов аналоговая СКУТЕРА STELS TACTIC 100
Панель приборов цифровая СКУТЕРА STELS TACTIC 100
Педаль кик-стартера СКУТЕРА STELS TACTIC 100
Поршень и коленвал СКУТЕРА STELS TACTIC 100
Пусковой механизм СКУТЕРА STELS TACTIC 100
Рама СКУТЕРА STELS TACTIC 100
Руль и троса управления СКУТЕРА STELS TACTIC 100
Сиденье и багажный отсек СКУТЕРА STELS TACTIC 100
Система охлаждения СКУТЕРА STELS TACTIC 100
Топливный бак СКУТЕРА STELS TACTIC 100
Тормоз дисковый передний СКУТЕРА STELS TACTIC 100
Трансмиссия СКУТЕРА STELS TACTIC 100
Труба выхлопная с глушителем (Часть 1) СКУТЕРА STELS TACTIC 100
Труба выхлопная с глушителем (Часть 2) СКУТЕРА STELS TACTIC 100
Фара передняя СКУТЕРА STELS TACTIC 100
Фильтр воздушный СКУТЕРА STELS TACTIC 100
Электрооборудование СКУТЕРА STELS TACTIC 100
Запчасти для скутера STELS TACTIC 150
Амортизатор задний СКУТЕРА STELS TACTIC 150
Блок-фара передняя СКУТЕРА STELS TACTIC 150
Вариатор СКУТЕРА STELS TACTIC 150
Вилка амортизационная СКУТЕРА STELS TACTIC 150
Газораспределительный механизм (ГРМ) СКУТЕРА STELS TACTIC 150
Головка цилиндра СКУТЕРА STELS TACTIC 150
Дополнительное оборудование СКУТЕРА STELS TACTIC 150
Заднее световое оборудование СКУТЕРА STELS TACTIC 150
Запасной инструмент СКУТЕРА STELS TACTIC 150
Карбюратор СКУТЕРА STELS TACTIC 150
Картер двигателя СКУТЕРА STELS TACTIC 150
Картер редуктора СКУТЕРА STELS TACTIC 150
Кик-стартер СКУТЕРА STELS TACTIC 150
Колесо заднее СКУТЕРА STELS TACTIC 150
Колесо переднее СКУТЕРА STELS TACTIC 150
Кофр СКУТЕРА STELS TACTIC 150
Крыло переднее СКУТЕРА STELS TACTIC 150
Крышка вариатора СКУТЕРА STELS TACTIC 150
Крышка вентилятора СКУТЕРА STELS TACTIC 150
Крышка головки цилиндра СКУТЕРА STELS TACTIC 150
Крышка картера двигателя СКУТЕРА STELS TACTIC 150
Магнето СКУТЕРА STELS TACTIC 150
Масляный насос СКУТЕРА STELS TACTIC 150
Наклейки декоративные (Часть 1) СКУТЕРА STELS TACTIC 150
Наклейки декоративные (Часть 2) СКУТЕРА STELS TACTIC 150
Наклейки декоративные (Часть 3) СКУТЕРА STELS TACTIC 150
Облицовка нижняя СКУТЕРА STELS TACTIC 150
Облицовка пола и опоры СКУТЕРА STELS TACTIC 150
Облицовка руля и зеркала СКУТЕРА STELS TACTIC 150
Облицовка сиденья СКУТЕРА STELS TACTIC 150
Облицовка фары СКУТЕРА STELS TACTIC 150
Органы управления рулевые СКУТЕРА STELS TACTIC 150
Панель приборов аналоговая СКУТЕРА STELS TACTIC 150
Панель приборов цифровая СКУТЕРА STELS TACTIC 150
Педаль кик-стартера СКУТЕРА STELS TACTIC 150
Поршень, коленвал СКУТЕРА STELS TACTIC 150
Рама СКУТЕРА STELS TACTIC 150
Руль и троса управления СКУТЕРА STELS TACTIC 150
Сиденье и багажный отсек СКУТЕРА STELS TACTIC 150
Стартер СКУТЕРА STELS TACTIC 150
Топливный бак СКУТЕРА STELS TACTIC 150
Тормоз дисковый передний СКУТЕРА STELS TACTIC 150
Труба выхлопная с глушителем СКУТЕРА STELS TACTIC 150
Фильтр воздушный СКУТЕРА STELS TACTIC 150
Цепь ГРМ СКУТЕРА STELS TACTIC 150
Цилиндр СКУТЕРА STELS TACTIC 150
Щиток защитный двигателя СКУТЕРА STELS TACTIC 150
Электрооборудование СКУТЕРА STELS TACTIC 150
Запчасти для скутера STELS VORTEX 150
Амортизатор задний СКУТЕРА STELS VORTEX 150
Блок-фара передняя СКУТЕРА STELS VORTEX 150
Вариатор СКУТЕРА STELS VORTEX 150
Вилка амортизационная СКУТЕРА STELS VORTEX 150
Газораспределительный механизм (ГРМ) СКУТЕРА STELS VORTEX 150
Головка цилиндра СКУТЕРА STELS VORTEX 150
Дополнительное оборудование СКУТЕРА STELS VORTEX 150
Заднее световое оборудование СКУТЕРА STELS VORTEX 150
Запасной инструмент СКУТЕРА STELS VORTEX 150
Карбюратор СКУТЕРА STELS VORTEX 150
Картер двигателя СКУТЕРА STELS VORTEX 150
Картер редуктора СКУТЕРА STELS VORTEX 150
Кик-стартер СКУТЕРА STELS VORTEX 150
Колесо заднее СКУТЕРА STELS VORTEX 150
Колесо переднее СКУТЕРА STELS VORTEX 150
Кофр СКУТЕРА STELS VORTEX 150
Крыло переднее СКУТЕРА STELS VORTEX 150
Крышка вариатора двигателя СКУТЕРА STELS VORTEX 150
Крышка вариатора СКУТЕРА STELS VORTEX 150
Крышка вентилятора СКУТЕРА STELS VORTEX 150
Крышка головки цилиндра СКУТЕРА STELS VORTEX 150
Магнето СКУТЕРА STELS VORTEX 150
Масляный насос СКУТЕРА STELS VORTEX 150
Наклейки декоративные (Часть 1) СКУТЕРА STELS VORTEX 150
Наклейки декоративные (Часть 2) СКУТЕРА STELS VORTEX 150
Наклейки декоративные (Часть 3) СКУТЕРА STELS VORTEX 150
Наклейки декоративные (Часть 4) СКУТЕРА STELS VORTEX 150
Наклейки декоративные (Часть 5) СКУТЕРА STELS VORTEX 150
Наклейки декоративные (Часть 6) СКУТЕРА STELS VORTEX 150
Облицовка боковая СКУТЕРА STELS VORTEX 150
Облицовка нижняя СКУТЕРА STELS VORTEX 150
Облицовка пола и опоры СКУТЕРА STELS VORTEX 150
Облицовка руля и зеркала СКУТЕРА STELS VORTEX 150
Облицовка сиденья СКУТЕРА STELS VORTEX 150
Облицовка фары СКУТЕРА STELS VORTEX 150
Органы управления рулевые СКУТЕРА STELS VORTEX 150
Панель приборов аналоговая СКУТЕРА STELS VORTEX 150
Панель приборов цифровая СКУТЕРА STELS VORTEX 150
Педаль кик-стартера СКУТЕРА STELS VORTEX 150
Поршень, коленвал СКУТЕРА STELS VORTEX 150
Рама СКУТЕРА STELS VORTEX 150
Руль и троса управления СКУТЕРА STELS VORTEX 150
Сиденье и багажный отсек СКУТЕРА STELS VORTEX 150
Стартер СКУТЕРА STELS VORTEX 150
Топливный бак СКУТЕРА STELS VORTEX 150
Тормоз дисковый передний СКУТЕРА STELS VORTEX 150
Труба выхлопная с глушителем СКУТЕРА STELS VORTEX 150
Фильтр воздушный СКУТЕРА STELS VORTEX 150
Цепь ГРМ СКУТЕРА STELS VORTEX 150
Цилиндр СКУТЕРА STELS VORTEX 150
Щиток защитный двигателя СКУТЕРА STELS VORTEX 150
Электрооборудование СКУТЕРА STELS VORTEX 150
Запчасти для скутера STELS ZION 150
Вариатор СКУТЕРА STELS ZION 150
Вилка передняя амортизационная СКУТЕРА STELS ZION 150
Воздушный фильтр СКУТЕРА STELS ZION 150
Глушитель СКУТЕРА STELS ZION 150
Головка цилиндра СКУТЕРА STELS ZION 150
Двигатель СКУТЕРА STELS ZION 150
Декоративные наклейки СКУТЕРА STELS ZION 150
Запасной инструмент СКУТЕРА STELS ZION 150
Карбюратор СКУТЕРА STELS ZION 150
Картер двигателя СКУТЕРА STELS ZION 150
Коленвал, шатун, поршень СКУТЕРА STELS ZION 150
Колесо заднее СКУТЕРА STELS ZION 150
Колесо переднее СКУТЕРА STELS ZION 150
Крыло переднее СКУТЕРА STELS ZION 150
Крышка вариатора СКУТЕРА STELS ZION 150
Крышка головки цилиндра СКУТЕРА STELS ZION 150
Крышка картера двигателя СКУТЕРА STELS ZION 150
Масляный насос СКУТЕРА STELS ZION 150
Облицовка передняя СКУТЕРА STELS ZION 150
Облицовка передняя, внутренняя СКУТЕРА STELS ZION 150
Облицовка пола СКУТЕРА STELS ZION 150
Облицовка руля СКУТЕРА STELS ZION 150
Облицовка сиденья СКУТЕРА STELS ZION 150
Панель приборов СКУТЕРА STELS ZION 150
Рама СКУТЕРА STELS ZION 150
Редуктор СКУТЕРА STELS ZION 150
Руль и троса управления СКУТЕРА STELS ZION 150
Световое оборудование СКУТЕРА STELS ZION 150
Сиденье СКУТЕРА STELS ZION 150
Система охлаждения СКУТЕРА STELS ZION 150
Стартер, магнето СКУТЕРА STELS ZION 150
Термостат СКУТЕРА STELS ZION 150
Топливный бак СКУТЕРА STELS ZION 150
Тормозная система СКУТЕРА STELS ZION 150
Цепь ГРМ СКУТЕРА STELS ZION 150
Цилиндр СКУТЕРА STELS ZION 150
Электрооборудование СКУТЕРА STELS ZION 150
Запчасти для скутера STELS ARROW 100
Бачок маслянный СКУТЕРА STELS ARROW 100
Вариатор СКУТЕРА STELS ARROW 100
Вилка амортизационная СКУТЕРА STELS ARROW 100
Впускная система СКУТЕРА STELS ARROW 100
Головка цилиндра, цилиндр СКУТЕРА STELS ARROW 100
Запасной инструмент СКУТЕРА STELS ARROW 100
Карбюратор СКУТЕРА STELS ARROW 100
Картер двигателя СКУТЕРА STELS ARROW 100
Колеса СКУТЕРА STELS ARROW 100
Крышка вариатора СКУТЕРА STELS ARROW 100
Магнето СКУТЕРА STELS ARROW 100
Масляный насос СКУТЕРА STELS ARROW 100
Облицовка передняя внутренняя СКУТЕРА STELS ARROW 100
Облицовка передняя СКУТЕРА STELS ARROW 100
Облицовка пола, блок-фара передняя СКУТЕРА STELS ARROW 100
Облицовка сиденья, блок-фара задняя СКУТЕРА STELS ARROW 100
Поршень и коленвал СКУТЕРА STELS ARROW 100
Пусковой механизм СКУТЕРА STELS ARROW 100
Рама СКУТЕРА STELS ARROW 100
Руль и троса управления СКУТЕРА STELS ARROW 100
Сиденье и багажный отсек СКУТЕРА STELS ARROW 100
Система охлаждения СКУТЕРА STELS ARROW 100
Топливный бак СКУТЕРА STELS ARROW 100
Трансмиссия СКУТЕРА STELS ARROW 100
Труба выхлопная с глушителем СКУТЕРА STELS ARROW 100
Фильтр воздушный СКУТЕРА STELS ARROW 100
Электрооборудование СКУТЕРА STELS ARROW 100
Запчасти для скутера STELS CAFFENERO 250
Блок дроссельной заслонки СКУТЕРА STELS CAFFENERO 250
Вариатор СКУТЕРА STELS CAFFENERO 250
Воздушный фильтр СКУТЕРА STELS CAFFENERO 250
Глушитель СКУТЕРА STELS CAFFENERO 250
Головка цилиндра, цилиндр СКУТЕРА STELS CAFFENERO 250
Двигатель СКУТЕРА STELS CAFFENERO 250
Инструмент запасной СКУТЕРА STELS CAFFENERO 250
Картер ДВС СКУТЕРА STELS CAFFENERO 250
Коленвал, поршень, цепь ГРМ СКУТЕРА STELS CAFFENERO 250
Колесо заднее СКУТЕРА STELS CAFFENERO 250
Колесо переднее СКУТЕРА STELS CAFFENERO 250
Кофр СКУТЕРА STELS CAFFENERO 250
Крышка вариатора СКУТЕРА STELS CAFFENERO 250
Магнето, стартер СКУТЕРА STELS CAFFENERO 250
Масляный насос СКУТЕРА STELS CAFFENERO 250
Насос жидкостного охлаждения СКУТЕРА STELS CAFFENERO 250
Облицовка внутренняя СКУТЕРА STELS CAFFENERO 250
Облицовка задняя СКУТЕРА STELS CAFFENERO 250
Облицовка передняя СКУТЕРА STELS CAFFENERO 250
Передняя вилка СКУТЕРА STELS CAFFENERO 250
Рама СКУТЕРА STELS CAFFENERO 250
Редуктор СКУТЕРА STELS CAFFENERO 250
Руль СКУТЕРА STELS CAFFENERO 250
Сиденье СКУТЕРА STELS CAFFENERO 250
Система охлаждения ДВС СКУТЕРА STELS CAFFENERO 250
Топливный бак СКУТЕРА STELS CAFFENERO 250
Тормоза СКУТЕРА STELS CAFFENERO 250
Электрооборудование СКУТЕРА STELS CAFFENERO 250
Запчасти для скутера STELS VORTEX 50
Амортизатор задний СКУТЕРА STELS VORTEX 50
Бачок масляный СКУТЕРА STELS VORTEX 50
Блок-фара передняя СКУТЕРА STELS VORTEX 50
Вариатор СКУТЕРА STELS VORTEX 50
Вилка амортизационная СКУТЕРА STELS VORTEX 50
Впускная система СКУТЕРА STELS VORTEX 50
Головка цилиндра, цилиндр СКУТЕРА STELS VORTEX 50
Дополнительное оборудование СКУТЕРА STELS VORTEX 50
Заднее световое оборудование СКУТЕРА STELS VORTEX 50
Запасной инструмент СКУТЕРА STELS VORTEX 50
Карбюратор СКУТЕРА STELS VORTEX 50
Картер двигателя СКУТЕРА STELS VORTEX 50
Колесо заднее СКУТЕРА STELS VORTEX 50
Колесо переднее СКУТЕРА STELS VORTEX 50
Кофр (Часть 1) СКУТЕРА STELS VORTEX 50
Кофр (Часть 2) СКУТЕРА STELS VORTEX 50
Крыло переднее СКУТЕРА STELS VORTEX 50
Крышка вариатора СКУТЕРА STELS VORTEX 50
Магнето СКУТЕРА STELS VORTEX 50
Масляный насос СКУТЕРА STELS VORTEX 50
Наклейки декоративные (Часть 1) СКУТЕРА STELS VORTEX 50
Наклейки декоративные (Часть 2) СКУТЕРА STELS VORTEX 50
Наклейки декоративные (Часть 3) СКУТЕРА STELS VORTEX 50
Наклейки декоративные (Часть 4) СКУТЕРА STELS VORTEX 50
Наклейки декоративные (Часть 5) СКУТЕРА STELS VORTEX 50
Наклейки декоративные (Часть 6) СКУТЕРА STELS VORTEX 50
Облицовка боковая СКУТЕРА STELS VORTEX 50
Облицовка нижняя СКУТЕРА STELS VORTEX 50
Облицовка пола и опоры СКУТЕРА STELS VORTEX 50
Облицовка руля и зеркала СКУТЕРА STELS VORTEX 50
Облицовка сиденья СКУТЕРА STELS VORTEX 50
Облицовка фары СКУТЕРА STELS VORTEX 50
Органы управления рулевые СКУТЕРА STELS VORTEX 50
Панель приборов аналоговая СКУТЕРА STELS VORTEX 50
Панель приборов цифровая СКУТЕРА STELS VORTEX 50
Педаль кик-стартера СКУТЕРА STELS VORTEX 50
Поршень, коленвал СКУТЕРА STELS VORTEX 50
Пусковой механизм СКУТЕРА STELS VORTEX 50
Рама СКУТЕРА STELS VORTEX 50
Руль и троса управления СКУТЕРА STELS VORTEX 50
Сиденье и багажный отсек СКУТЕРА STELS VORTEX 50
Система охлаждения СКУТЕРА STELS VORTEX 50
Топливный бак СКУТЕРА STELS VORTEX 50
Тормоз дисковый передний СКУТЕРА STELS VORTEX 50
Трансмиссия СКУТЕРА STELS VORTEX 50
Труба выхлопная с глушителем СКУТЕРА STELS VORTEX 50
Фильтр воздушный СКУТЕРА STELS VORTEX 50
Электрооборудование СКУТЕРА STELS VORTEX 50
Запчасти для скутеров SUZUKI
Запчасти для скутера Suzuki TB60, SEPIA, LETS, AD50, AD65, Ran, Style, Joy
Запчасти для скутеров YAMAHA
Запчасти для скутера YAMAHA JOG
Запчасти для трициклов
Запчасти для вездеходов
Запчасти для лодочных моторов
Запчасти для лодок и катеров
Запчасти для садовой техники
Шины и диски
Запчасти для мотобуксировщиков
Боковая крышка СКУТЕРА STELS LEADER 50
Вариатор СКУТЕРА STELS LEADER 50
Воздухоочиститель СКУТЕРА STELS LEADER 50
Глушитель СКУТЕРА STELS LEADER 50
Головка цилиндра в сборе СКУТЕРА STELS LEADER 50
Заднее колесо СКУТЕРА STELS LEADER 50
Задний амортизатор СКУТЕРА STELS LEADER 50
Задний свет СКУТЕРА STELS LEADER 50
Защита ног СКУТЕРА STELS LEADER 50
Защита рук, зеркала СКУТЕРА STELS LEADER 50
Инструменты СКУТЕРА STELS LEADER 50
Карбюратор СКУТЕРА STELS LEADER 50
Картер двигателя в сборе СКУТЕРА STELS LEADER 50
Кофр СКУТЕРА STELS LEADER 50
Крышка вариатора в сборе СКУТЕРА STELS LEADER 50
Лепестковый клапан СКУТЕРА STELS LEADER 50
Магнето СКУТЕРА STELS LEADER 50
Масляный насос и его привод СКУТЕРА STELS LEADER 50
Наклейки СКУТЕРА STELS LEADER 50
Охлаждение цилиндра СКУТЕРА STELS LEADER 50
Педаль кик-стартера СКУТЕРА STELS LEADER 50
Переднее колесо в сборе СКУТЕРА STELS LEADER 50
Переднее крыло СКУТЕРА STELS LEADER 50
Передний дисковый тормоз СКУТЕРА STELS LEADER 50
Передняя вилка в сборе СКУТЕРА STELS LEADER 50
Передняя крышка СКУТЕРА STELS LEADER 50
Переключатели СКУТЕРА STELS LEADER 50
Поворотники, головной свет СКУТЕРА STELS LEADER 50
Подножка (Часть 1) СКУТЕРА STELS LEADER 50
Подножка (Часть 2) СКУТЕРА STELS LEADER 50
Поршневая и коленвал в сборе СКУТЕРА STELS LEADER 50
Привод кик-стартера и пусковой механизм СКУТЕРА STELS LEADER 50
Рама СКУТЕРА STELS LEADER 50
Рулевое управление СКУТЕРА STELS LEADER 50
Сиденье СКУТЕРА STELS LEADER 50
Спидометр в сборе (Часть 1) СКУТЕРА STELS LEADER 50
Спидометр в сборе (Часть 2) СКУТЕРА STELS LEADER 50
Топливный бак (Часть 1) СКУТЕРА STELS LEADER 50
Топливный бак (Часть 2) СКУТЕРА STELS LEADER 50
Трансмиссия СКУТЕРА STELS LEADER 50
Электрооборудование (Часть 1) СКУТЕРА STELS LEADER 50
Электрооборудование (Часть 2) СКУТЕРА STELS LEADER 50